Запчасти Case CX330 (08-002-00[01]) - HYDRAULIC PUMP - COUPLING (STANDARD) (08) - HYDRAULICS

Схема запчастей Case CX330 - (08-002-00[01]) - HYDRAULIC PUMP - COUPLING (STANDARD) (08) - HYDRAULICS
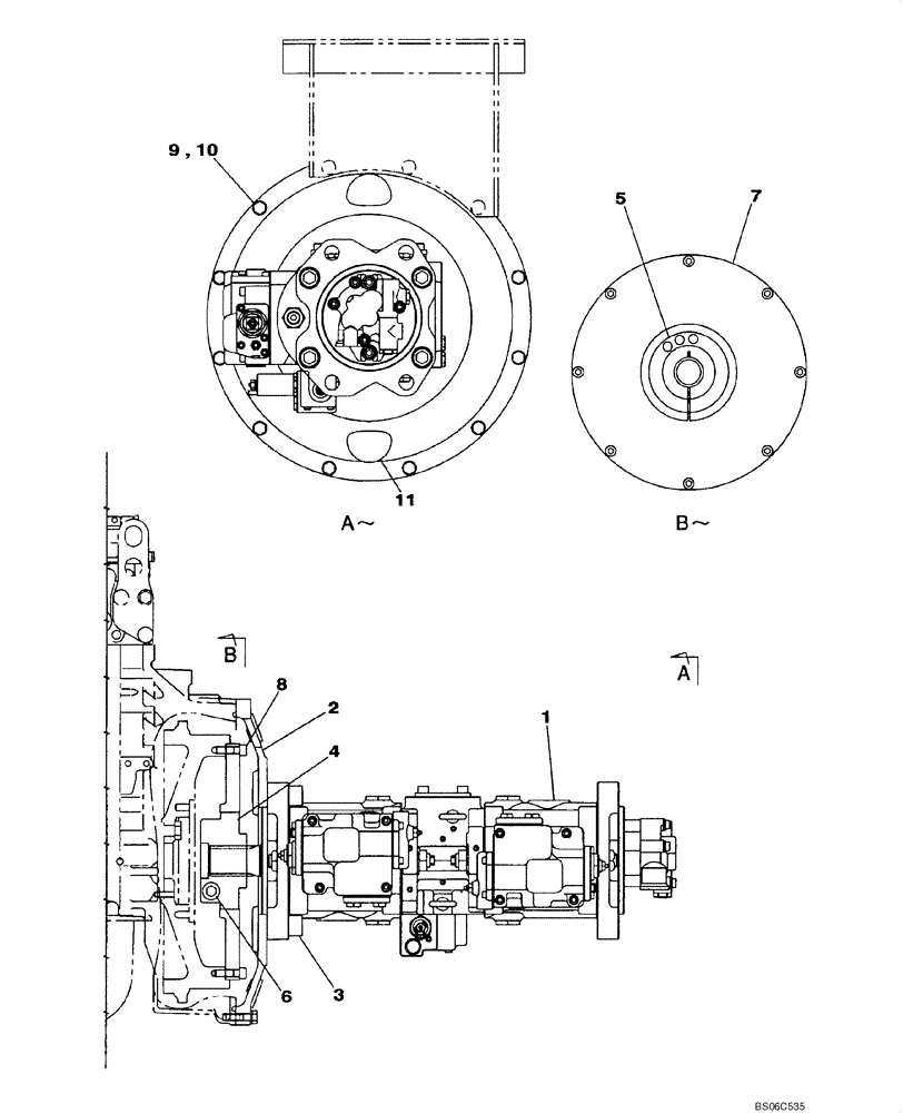
3
2
7
9
8
5
1
6
11
10
4
FIT
1:1
100%

Артикул

Название

Примечание

Количество

87341987

REMAN-HYD PUMP

1шт.

87341988

CORE-HYDRAULIC PUMP

Return Number

1шт.

1

KSJ2851

PUMP, HYDRAULIC

See Figures 08-100-00 01 - 08-103-00 01

1шт.

1

KSJ15460R

REMAN-HYD PUMP

New style pilot pumps are internally drained. If drain port is not present the dealer can discard the 2 elbows and use plug PN159085A1 in the tube assembly.

1шт.

1

KSJ15460C

CORE-HYDRAULIC PUMP

Return Number

1шт.

2

KSJ2852

FLANGE

1шт.

3

862-20055

HEX SOC SCREW,M20 x 55mm, Cl 12.9

4шт.

4

KSJ2874

COUPLING FLANGE

Incl. 5 - 7

1шт.

5

KSJ2875

HUB

1шт.

6

108R016Y045R

BOLT

M16 x 45; Replaces KSJ2665

1шт.

7

KSJ2666

COVER

1шт.

8

862-10035

HEX SOC SCREW,M10 x 35mm, Cl 12.9

8шт.

9

827-10040

BOLT,Hex, M10 x 1.5 x 40mm, Cl 10.9, Full Thd

9шт.

10

150409A1

WASHER

M10

9шт.

11

KHJ2656

GROMMET

2шт.

Выбрано товаров: 15