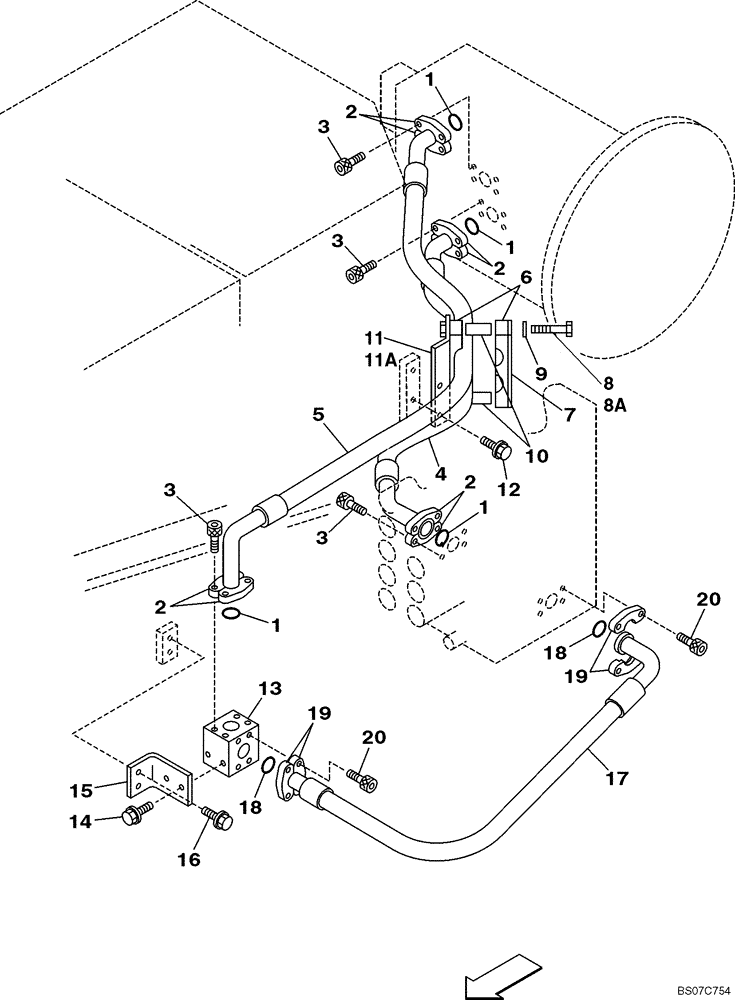
Запчасти Case CX330 (08-005-00[01]) - HYDRAULICS - CONTROL VALVE SUPPLY (08) - HYDRAULICS

Схема запчастей Case CX330 - (08-005-00[01]) - HYDRAULICS - CONTROL VALVE SUPPLY (08) - HYDRAULICS
20
3
2
19
17
2
2
1
1
15
18
7
3
12
9
4
8a
19
18
6
8
14
10
1
13
1
3
11a
11
2
16
5
3
20
FIT
1:1
100%

Артикул

Название

Примечание

Количество

1

155211A1

O-RING

4шт.

2

150561A1

FLANGE

8шт.

3

862-12040

HEX SOC SCREW,M12 x 40mm, Cl 12.9

16шт.

4

KSJ2870

HYDRAULIC HOSE,25.4mm ID x 1120mm L

1шт.

5

KSJ2871

HYDRAULIC HOSE,25.4mm ID x 1280mm L

1шт.

6

153237A1

HOSE CLAMP

2шт.

7

KSJ3148

SUPPORT

1шт.

8

814-10100

BOLT,Hex, M10 x 1.5 x 100mm, Cl 8.8

Used with Ref 11, KSJ2794 Bracket

2шт.

8a

166347A1

BOLT,Sems, M10 x 30mm

Used With Ref 11A, KSJ11700 Support

2шт.

9

150409A1

WASHER

10,5 x 21 x 3,2 mm; Used With Ref 11, KSJ2794 Bracket

2шт.

10

152895A1

SPACER

Used With Ref 11, KSJ2794 Bracket

2шт.

11

KSJ2794

BRACKET

No Longer Used, For Service Order Ref 11A, KSJ11700 Support

1шт.

11a

KSJ11700

SUPPORT

1шт.

12

166352A1

BOLT

2шт.

13

KSJ2796

MANIFOLD

1шт.

14

166352A1

BOLT

2шт.

15

KSJ2797

BRACKET

1шт.

16

166352A1

BOLT

2шт.

17

KSJ2795

HYDRAULIC HOSE,25.40 mm ID x 870.00 mm

1шт.

18

155211A1

O-RING

2шт.

19

150561A1

FLANGE

4шт.

20

862-12040

HEX SOC SCREW,M12 x 40mm, Cl 12.9

8шт.

Выбрано товаров: 22