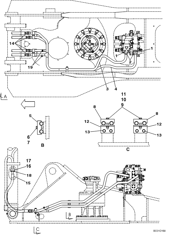
Запчасти Case CX330 (08-012-00[01]) - HYDRAULICS - BOOM (08) - HYDRAULICS

Схема запчастей Case CX330 - (08-012-00[01]) - HYDRAULICS - BOOM (08) - HYDRAULICS
13
10
6
3
8
11
15
12
19
12
5
16
2
14
4
1
18
8
9
7
1
13
17
FIT
1:1
100%

Артикул

Название

Примечание

Количество

1

154548A1

O-RING

2шт.

2

862-10035

HEX SOC SCREW,M10 x 35mm, Cl 12.9

8шт.

3

KSJ2680

HYD TUBE,26 mm ID x 34 mm OD

1шт.

4

KSJ2681

HYD TUBE

1шт.

5

162308A1

COLLAR

1шт.

6

827-12070

BOLT,Hex, M12 x 1.75 x 70mm, Cl 10.9

1шт.

7

150811A1

WASHER

M12

1шт.

8

162308A1

COLLAR

2шт.

9

827-12090

BOLT,Hex, M12 x 1.75 x 90mm, Cl 10.9

2шт.

10

150811A1

WASHER

M12

4шт.

11

829-1412

NUT,M12, Cl 10.9

2шт.

12

KSJ2682

BRACKET

2шт.

13

166352A1

BOLT

4шт.

14

KHJ1361

O-RING,0.07" Thk x 0.926" ID

4шт.

15

KSJ2683

HOSE ASSY.,25.40 mm ID x 1070.00 mm

4шт.

16

155211A1

O-RING

4шт.

17

153459A1

FLANGE

8шт.

18

862-10035

HEX SOC SCREW,M10 x 35mm, Cl 12.9

16шт.

19

150824A1

PLUG

2шт.

Выбрано товаров: 0