Запчасти Case CX330 (08-017-00[01]) - HYDRAULICS - ARM CYLINDER, MODELS WITHOUT LOAD HOLD (08) - HYDRAULICS

Схема запчастей Case CX330 - (08-017-00[01]) - HYDRAULICS - ARM CYLINDER, MODELS WITHOUT LOAD HOLD (08) - HYDRAULICS
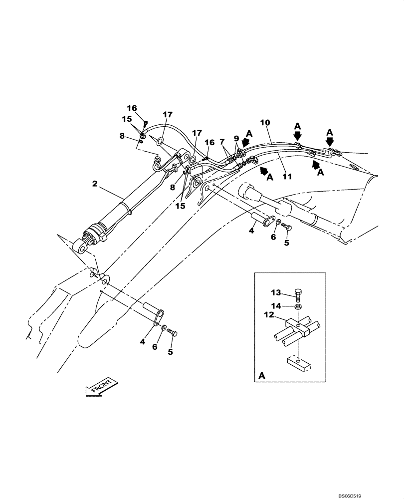
17
12
16
8
17
6
5
10
2
7
8
14
13
15
15
4
4
5
16
9
11
6
FIT
1:1
100%

Артикул

Название

Примечание

Количество

1

KSV1927

HYDRAULIC CYLINDER

Arm; See Figure 08-302-00 01

1шт.

1

KSV1927R

REMAN-HYD CYLINDER

CX330 CRAWLER EXCAVATOR TIER 3, ASN N5SAP7001 (NA), Arm (1/06-)

1шт.

1

KSV1927C

CORE-HYD CYLINDER

Return Number

1шт.

4

KSV1521

PIN

2шт.

5

102R020Y035R

BOLT

M20 x 35

2шт.

6

KTV1185

SPACER

2шт.

7

KSV1366

HYDRAULIC HOSE,25.40 mm ID x 1500.00 mm

1700 mm

2шт.

8

164450A1

O-RING

2шт.

9

KHJ1361

O-RING,0.07" Thk x 0.926" ID

2шт.

10

KSV1354

TUBE ASSY.,26 mm ID x 34 mm OD

1шт.

11

KSV1355

TUBE ASSY.,26 mm ID x 34 mm OD

Hex, M16 x 70, 10.9

1шт.

12

162595A1

CLAMP

5шт.

13

827-16070

BOLT,Hex, M16 x 2 x 70mm, Cl 10.9

5шт.

14

150814A1

WASHER,17mm ID x 32mm OD x 4.5mm Thk

W16

5шт.

15

150124A1

FLANGE

4шт.

16

108R014Y055R

BOLT

M14 x 55

8шт.

17

158451A1

SPACER

1шт.

Выбрано товаров: 17