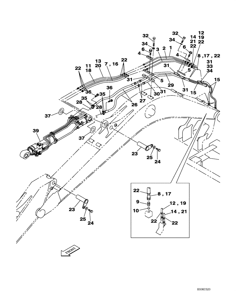
Запчасти Case CX330 (08-018-00[01]) - HYDRAULICS - ARM CYLINDER, MODELS WITH LOAD HOLD (08) - HYDRAULICS

Схема запчастей Case CX330 - (08-018-00[01]) - HYDRAULICS - ARM CYLINDER, MODELS WITH LOAD HOLD (08) - HYDRAULICS
31
16
25
31
2
28
27
24
29
37
4
23
32
10
17
34
34
22
8
22
22
6
20
22
33
6
24
18
22
12
14
31
21
28
21
12
39
19
32
31
23
37
9
7
15
13
22
35
31
5
34
36
15
5
22
8
26
30
3
25
1
36
11
4
19
17
14
35
22
FIT
1:1
100%

Артикул

Название

Примечание

Количество

1

KSV13470

HYD TUBE

Replaces KSV11490

1шт.

2

KSV13480

HYD TUBE

Replaces KSV11500

1шт.

3

KSV13490

HYD TUBE

Replaces KSV11510

1шт.

4

KSV11550

CLAMP

2шт.

5

KSV11560

PLATE

2шт.

6

167584A1

BOLT,Sems, M16 x 60mm

M16 x 60

4шт.

7

KMA0942

HOSE ASSY.,19.00 mm ID x 1620.00 mm

1шт.

8

KNJ2037

HYDRAULIC HOSE,19.00 mm ID x 200.00 mm

1шт.

9

164176A1

ADAPTER

Incl. 10

1шт.

10

154487A1

O-RING

1шт.

11

KHJ1695

HYDRAULIC HOSE

1шт.

12

168025A1

HYDRAULIC HOSE,9.50 mm ID x 1950.00 mm

1шт.

13

KNJ2836

HYDRAULIC HOSE,12.70 mm ID x 1600.00 mm

1шт.

14

KBJ3184

HYDRAULIC HOSE,12.70 mm ID x 1900.00 mm

1шт.

15

150071A1

MOUNTING CLIP

380 mm

1шт.

16

KHV0466

PLASTIC-RUBBER TUBE

1600 mm

1шт.

17

KHV10210

PLASTIC-RUBBER TUBE

2000 mm

1шт.

18

157769A1

PLASTIC-RUBBER TUBE

1шт.

19

KRH1509

PLASTIC-RUBBER TUBE

1шт.

20

150442A1

TUBE

1шт.

21

150443A1

TUBE

1шт.

22

150067A1

MOUNTING CLIP

150 mm

1шт.

23

KSV1521

PIN

2шт.

24

102R020Y035R

BOLT

M20 x 35

2шт.

25

KTV1185

SPACER

2шт.

26

KSV1366

HYDRAULIC HOSE,25.40 mm ID x 1500.00 mm

2шт.

27

KHJ1361

O-RING,0.07" Thk x 0.926" ID

2шт.

28

164450A1

O-RING

2шт.

29

KSV1354

TUBE ASSY.,26 mm ID x 34 mm OD

1шт.

30

KSV1355

TUBE ASSY.,26 mm ID x 34 mm OD

1.шт.

31

162595A1

CLAMP

5шт.

32

827-16090

BOLT,Hex, M16 x 2 x 90mm, Cl 10.9

4шт.

33

827-16070

BOLT,Hex, M16 x 2 x 70mm, Cl 10.9

1шт.

34

150814A1

WASHER,17mm ID x 32mm OD x 4.5mm Thk

W16

5шт.

35

150124A1

FLANGE

4шт.

36

108R014Y055R

BOLT

M14 x 55

8шт.

37

158451A1

SPACER

1шт.

39

KSV11460

HYDRAULIC CYLINDER

Arm, See Figure 08-302-01 01

1шт.

Выбрано товаров: 38