Запчасти Case CX350 (08-133-00[01]) - HYDRAULIC CIRCUIT - OPTIONAL - 3-WAY (08) - HYDRAULICS

Схема запчастей Case CX350 - (08-133-00[01]) - HYDRAULIC CIRCUIT - OPTIONAL - 3-WAY (08) - HYDRAULICS
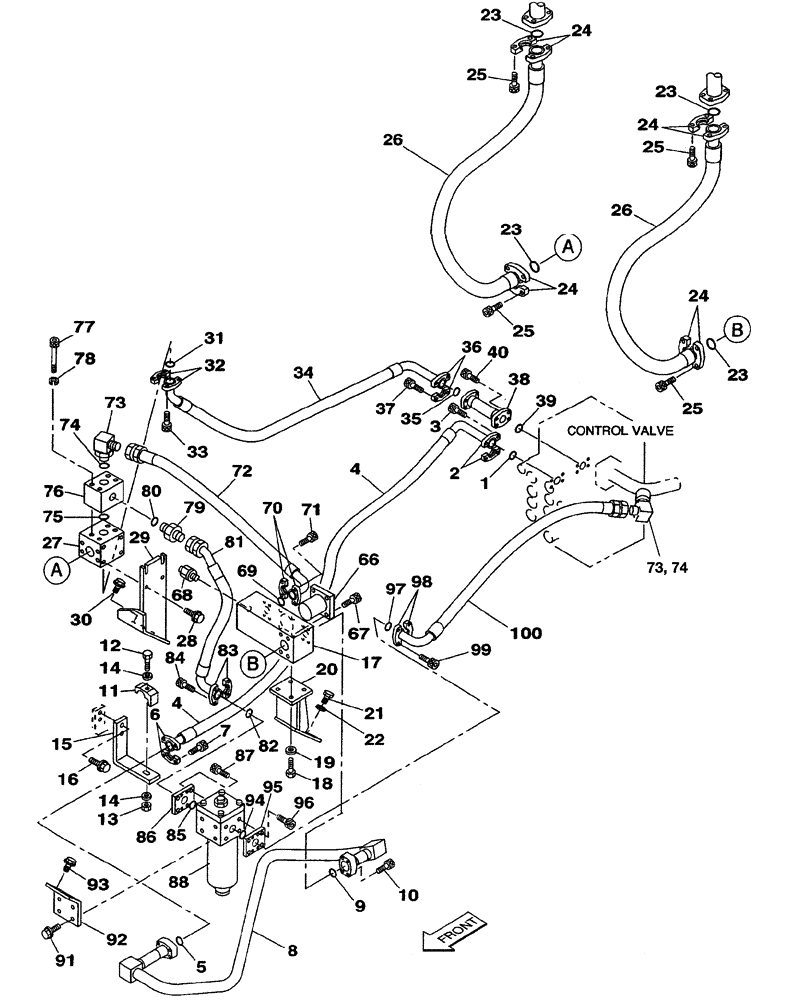
36
79
97
24
23
75
10
86
84
33
3
14
74
35
70
9
71
20
26
88
94
6
4
27
71
23
22
100
95
17
80
74
15
30
87
23
73
96
18
7
69
1
72
38
82
24
29
76
31
5
25
99
91
23
16
37
83
24
26
68
12
2
78
24
11
8
14
92
85
97
38
32
98
77
81
93
25
25
25
40
19
34
67
21
13
28
73
FIT
1:1
100%

Артикул

Название

Примечание

Количество

1

155211A1

O-RING

1шт.

2

153459A1

FLANGE

2шт.

3

862-10030

HEX SOC SCREW,M10 x 30mm, Cl 12.9

4шт.

4

KSJ2737

HYDRAULIC HOSE,31.80 mm ID x 1000.00 mm

1шт.

5

164450A1

O-RING

1шт.

6

150124A1

FLANGE

2шт.

7

108R014Y045R

BOLT,Hex Skt, M14 x 45mm, Cl 12.9

M14 x 45

4шт.

8

KSJ2799

HYD TUBE,34.7 mm ID x 42.7 mm OD

1шт.

9

164450A1

O-RING

1шт.

10

108R014Y045R

BOLT,Hex Skt, M14 x 45mm, Cl 12.9

M14 x 45

4шт.

11

KTV1209

CLAMP

1шт.

12

827-16110

BOLT,Hex, M16 x 2 x 110mm, Cl 10.9

1шт.

13

829-1416

NUT,M16, Cl 10

1шт.

14

150814A1

WASHER,17mm ID x 32mm OD x 4.5mm Thk

2шт.

15

KSJ2800

BRACKET

1шт.

16

166352A1

BOLT

2шт.

17

KSJ2740

MANIFOLD

1шт.

18

627-16030

BOLT,Hex, M16 x 2 x 30mm, Cl 10.9, Full Thd

4шт.

19

150814A1

WASHER,17mm ID x 32mm OD x 4.5mm Thk

4шт.

20

KSJ2741

BRACKET

1шт.

21

627-16030

BOLT,Hex, M16 x 2 x 30mm, Cl 10.9, Full Thd

4шт.

22

150814A1

WASHER,17mm ID x 32mm OD x 4.5mm Thk

4шт.

23

164450A1

O-RING

4шт.

24

150124A1

FLANGE

8шт.

25

108R014Y045R

BOLT,Hex Skt, M14 x 45mm, Cl 12.9

M14 x 45

16шт.

26

KSJ2742

HYDRAULIC HOSE,31.8mm ID x 1670mm L

2шт.

27

KSJ2755

VALVE

1шт.

See Page(s) 08-183-05

1шт.

28

166352A1

BOLT

4шт.

29

KSJ2743

BRACKET

1шт.

30

152718A1

BOLT,Spcl, Hex Wshr, M12 x 25mm, Cl 10.9

4шт.

31

164450A1

O-RING

1шт.

32

150124A1

FLANGE

2шт.

33

108R014Y045R

BOLT,Hex Skt, M14 x 45mm, Cl 12.9

M14 x 45

4шт.

34

KSJ2844

HYDRAULIC HOSE,31.80 mm ID x 1140.00 mm

1шт.

35

155211A1

O-RING

1шт.

36

153459A1

FLANGE

2шт.

37

862-10030

HEX SOC SCREW,M10 x 30mm, Cl 12.9

4шт.

38

KSJ2802

HYD TUBE,26 mm ID x 34 mm OD

1шт.

39

154548A1

O-RING

1шт.

40

862-10035

HEX SOC SCREW,M10 x 35mm, Cl 12.9

4шт.

66

162658A1

MANIFOLD VALVE

1шт.

67

862-16030

HEX SOC SCREW,M16 x 30mm, Cl 12.9

4шт.

68

162656A1

VALVE

1шт.

69

164450A1

O-RING

1шт.

70

157856A1

CLAMP BRACKET

2шт.

71

862-10030

HEX SOC SCREW,M10 x 30mm, Cl 12.9

4шт.

72

KSJ2750

HYDRAULIC HOSE,31.80 mm ID x 780.00 mm

1шт.

73

157582A1

ELBOW,90 Degree, 1 1/4" O-Ring x 1 1/4"

2шт.

Consists Of Ref. Number 74

1шт.

74

154559A1

O-RING

2шт.

75

164450A1

O-RING

1шт.

76

162667A1

MANIFOLD

1шт.

77

862-14090

HEX SOC SCREW,M14 x 90mm, Cl 12.9

4шт.

78

184-014VR

SPRING WASHER

4шт.

79

159047A1

ADAPTER

1шт.

Consists Of Ref. Number 80

1шт.

80

154559A1

O-RING

1шт.

81

KSJ2751

HYDRAULIC HOSE,31.80 mm ID x 700.00 mm

1шт.

82

164450A1

O-RING

1шт.

83

157856A1

CLAMP BRACKET

2шт.

84

862-10025

HEX SOC SCREW,M10 x 25mm, Cl 12.9

4шт.

85

154625A1

O-RING

1шт.

86

KSJ2752

FLANGE

1шт.

87

862-10025

HEX SOC SCREW,M10 x 25mm, Cl 12.9

4шт.

88

159704A1

FILTER ASSY

1шт.

See Page(s) 08-189-10

1шт.

91

166052A1

BOLT

4шт.

92

KSJ2753

BRACKET

1шт.

93

166352A1

BOLT

2шт.

94

154625A1

O-RING

1шт.

95

KSJ2752

FLANGE

1шт.

96

862-10025

HEX SOC SCREW,M10 x 25mm, Cl 12.9

4шт.

97

164450A1

O-RING

1шт.

98

157856A1

CLAMP BRACKET

2шт.

99

862-10025

HEX SOC SCREW,M10 x 25mm, Cl 12.9

4шт.

100

KSJ2754

HYDRAULIC HOSE,31.80 mm ID x 1080.00 mm

1шт.

Выбрано товаров: 77