Запчасти Case CX350 (08-143-00[01]) - HYDRAULIC CIRCUIT - OPTIONAL - 3-WAY (08) - HYDRAULICS

Схема запчастей Case CX350 - (08-143-00[01]) - HYDRAULIC CIRCUIT - OPTIONAL - 3-WAY (08) - HYDRAULICS
136
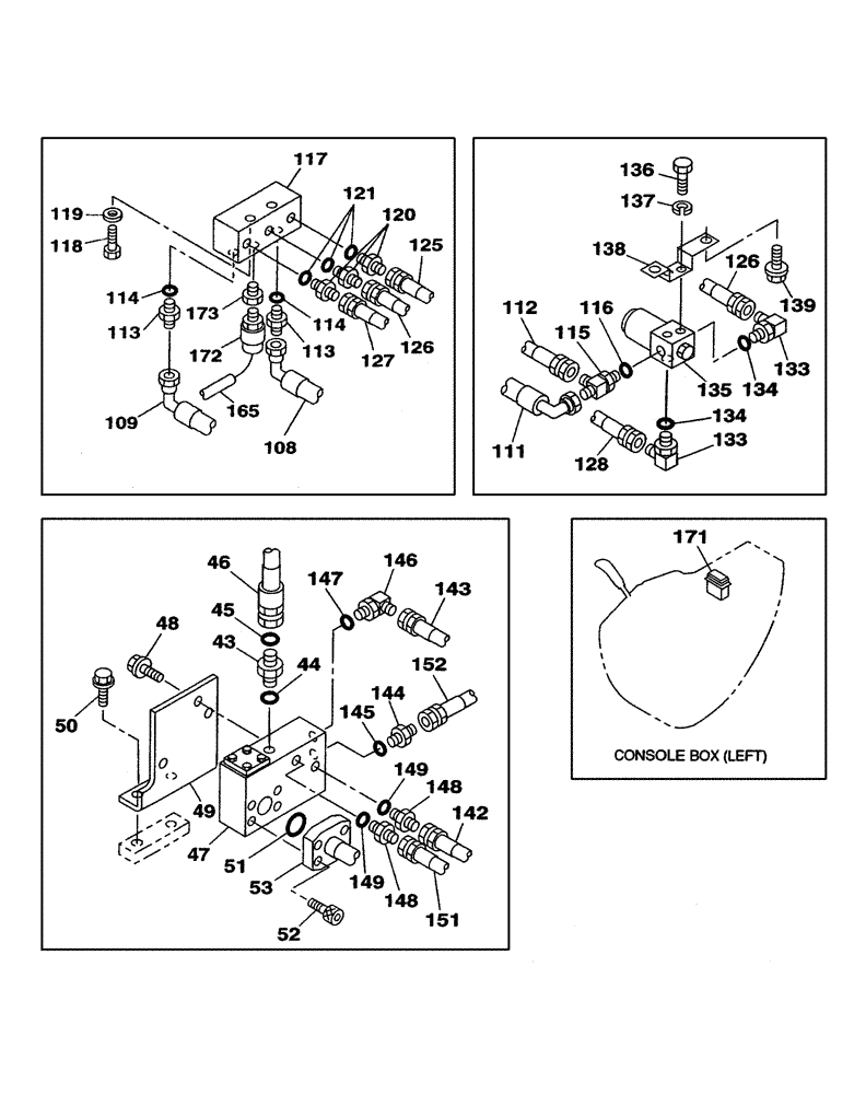
108
134
113
172
113
52
112
50
126
51
49
48
165
149
43
173
133
114
117
119
120
138
145
49
125
148
114
144
118
128
151
47
51
127
146
149
111
134
139
115
137
126
44
133
45
152
109
46
143
121
116
142
147
171
135
FIT
1:1
100%

Артикул

Название

Примечание

Количество

43

KHJ1348

ADAPTER

1шт.

Consists Of Ref. Number 44

1шт.

44

154503A1

O-RING

1шт.

45

KHJ1360

O-RING,0.07" Thk x 0.739" ID

2шт.

46

KSJ2803

HYDRAULIC HOSE,19.05 mm ID x 600.00 mm

1шт.

47

KHJ1340

VALVE

1шт.

See Page(s) 08-225-00

1шт.

48

166052A1

BOLT

3шт.

49

KSJ2804

BRACKET

1шт.

50

152718A1

BOLT,Spcl, Hex Wshr, M12 x 25mm, Cl 10.9

2шт.

51

154528A1

O-RING

1шт.

52

862-10030

HEX SOC SCREW,M10 x 30mm, Cl 12.9

4шт.

53

KSJ2805

HYD TUBE,20.8 mm ID x 27.2 mm OD

1шт.

108

161483A1

HOSE ASSY.

450 mm (17-3/4 in)

1шт.

109

165147A1

HOSE ASSY.

1шт.

111

159013A1

HOSE ASSY.

1шт.

112

159235A1

HYDRAULIC HOSE

1шт.

113

152127A1

HYD CONNECTOR,1/4" NPT O-Ring x 1/4" NPT

2шт.

Consists Of Ref. Number 114

1шт.

114

154467A1

O-RING,10.8mm ID x 2.4mm Width

2шт.

115

159497A1

TEE

1шт.

Consists Of Ref. Number 116

1шт.

116

154467A1

O-RING,10.8mm ID x 2.4mm Width

1шт.

117

KHJ17100

VALVE PRESSURE RELIE

1шт.

118

827-8055

BOLT,Hex, M8 x 1.25 x 55mm, Cl 10.9

2шт.

119

153081A1

WASHER

2шт.

120

152127A1

HYD CONNECTOR,1/4" NPT O-Ring x 1/4" NPT

3шт.

Consists Of Ref. Number 121

1шт.

121

154467A1

O-RING,10.8mm ID x 2.4mm Width

1шт.

125

KHJ1772

HOSE

1шт.

126

161272A1

HOSE

650 mm (25-5/8 in)

1шт.

127

157839A1

HOSE,6.3 mm ID x 3900.00 mm

3900 mm (153-5/8 in)

1шт.

128

152581A1

HOSE,6.3mm ID x 1900mm L

1шт.

133

150913A1

ELBOW,90 Degree, 1/4" O-Ring x 1/4"

2шт.

Consists Of Ref. Number 134

1шт.

134

154467A1

O-RING,10.8mm ID x 2.4mm Width

1шт.

135

162538A1

VALVE

1шт.

See Page(s) 08-183-00

1шт.

136

627-6012

BOLT,Hex, M6 x 1 x 12mm, Cl 10.9, Full Thd

2шт.

137

183-106VR

SPRING WASHER

2шт.

138

KRJ5751

BRACKET

1шт.

139

166346A1

BOLT,Sems, M10

2шт.

142

159019A1

HOSE ASSY.

900 mm (35-1/2 in)

1шт.

143

159019A1

HOSE ASSY.

900 mm (35-1/2 in)

1шт.

144

152127A1

HYD CONNECTOR,1/4" NPT O-Ring x 1/4" NPT

1шт.

Consists Of Ref. Number 145

1шт.

145

154467A1

O-RING,10.8mm ID x 2.4mm Width

1шт.

146

150913A1

ELBOW,90 Degree, 1/4" O-Ring x 1/4"

1шт.

Consists Of Ref. Number 147

1шт.

147

154467A1

O-RING,10.8mm ID x 2.4mm Width

1шт.

148

152127A1

HYD CONNECTOR,1/4" NPT O-Ring x 1/4" NPT

2шт.

Consists Of Ref. Number 149

1шт.

149

154467A1

O-RING,10.8mm ID x 2.4mm Width

1шт.

151

161648A1

HOSE ASSY.

1шт.

152

152514A1

HOSE,63mm ID x 1000mm L

1шт.

165

KHR3351

HARNESS

1шт.

171

KHR2948

SWITCH

1шт.

172

KHR24010

PRESSURE SWITCH

1шт.

173

KHJ11460

ADAPTER

1шт.

180

150067A1

MOUNTING CLIP

150 mm

2шт.

Not Illustrated

1шт.

Выбрано товаров: 61