Запчасти Case CX350 (08-163-20[01]) - SWING HYDRAULIC MOTOR (08) - HYDRAULICS

Схема запчастей Case CX350 - (08-163-20[01]) - SWING HYDRAULIC MOTOR (08) - HYDRAULICS
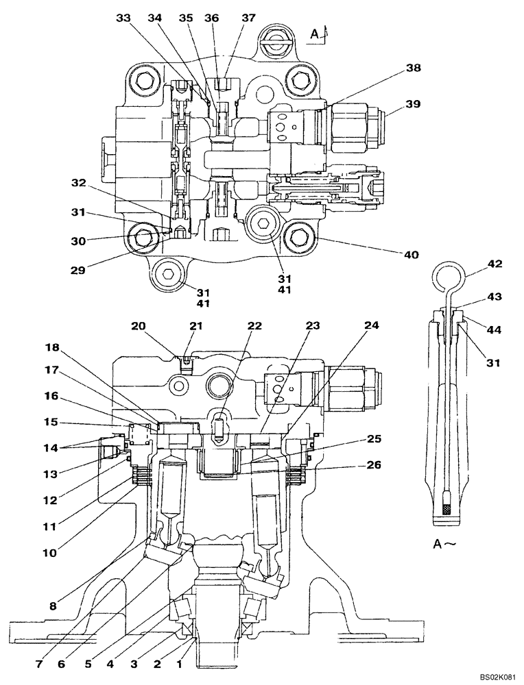
40
10
5
38
13
31
29
8
26
1
44
24
35
16
41
39
14
33
7
4
18
17
20
31
34
6
3
30
31
15
12
37
21
43
41
11
25
36
31
42
22
32
23
2
FIT
1:1
100%

Артикул

Название

Примечание

Количество

KSC0230

MOTOR, HYDRAULIC

1шт.

Consists Of Ref. Numbers 1 To 44; CX330 LC & LR DCH33B0101 To DCH33B0290 / CX330 NLC DCH33B0101 To DCH33B0289 / CX350 DCH33B0101 To DCH33B0290

1шт.

KSC10170R

REMAN-HYD MOTOR

CX350 CASE CRAWLER EXCAVATOR (EUROPE), Reman for New PN KSC0230

1шт.

KSC10170C

CORE-MOTOR HYDRAULIC

Return Number

1шт.

KSC0247

MOTOR, HYDRAULIC

1шт.

Consists Of Ref. Numbers 1 To 44; CX330 LC & LR DCH33B0291 And After / CX330 NLC DCH33B0289 And After / CX350 DCH33B0291 And After

1шт.

KSC10170R

REMAN-HYD MOTOR

CX350 CASE CRAWLER EXCAVATOR (EUROPE), Reman for New PN KSC0247

1шт.

KSC10170C

CORE-MOTOR HYDRAULIC

Return Number

1шт.

KSC10170

HYDRAULIC MOTOR

1шт.

KSC10170R

REMAN-HYD MOTOR

CX350 CASE CRAWLER EXCAVATOR (EUROPE)

1шт.

KSC10170C

CORE-MOTOR HYDRAULIC

Return Number

1шт.

1

155613A1

RING, LOCKING

RING, LOCK

1шт.

2

155620A1

SPACER

1шт.

3

155106A1

OIL SEAL

1шт.

4

156133A1

TAPERED BEARING,45mm ID x 100mm OD x 27.25mm W

1шт.

5

165745A1

COLLAR

1шт.

6

156080A1

SPRING

1шт.

With KSC0230

1шт.

6

LG00540

SPRING

1шт.

With KSC0247

1шт.

7

LF00001

CAM

1шт.

8

LR00039

PLATE

1шт.

With KSC0230

1шт.

8

LR01166

PLATE

1шт.

With KSC0247

1шт.

10

LR00040

PLATE

4шт.

11

LR00041

PLATE

4шт.

12

155199A1

O-RING

1шт.

13

LJ00042

PISTON

1шт.

14

LBQ5264

O-RING

2шт.

15

156082A1

SPRING

19шт.

16

LB00841

BUSHING

4шт.

17

LE01021

RING

4шт.

18

LA00848

WASHER

4шт.

20

154467A1

O-RING,10.8mm ID x 2.4mm Width

2шт.

21

160306A1

CAP

2шт.

22

160101A1

COTTER PIN

2шт.

23

LJ00723

PISTON

2шт.

24

LR00963

PLATE

1шт.

With KSC0230, KSC0247

1шт.

24

LR017710

PLATE

1шт.

With KSC10170

1шт.

25

LB00040

NEEDLE BEARING

1шт.

26

155614A1

RING, LOCKING

RING, LOCK

1шт.

29

LNM0426

VALVE POPPET

2шт.

30

166176A1

BACK-UP RING

2шт.

31

154487A1

O-RING

5шт.

32

154471A1

O-RING

2шт.

33

154515A1

O-RING

2шт.

34

153991A1

BACK-UP RING

2шт.

35

155944A1

PLUNGER

2шт.

36

156079A1

SPRING

2шт.

37

156305A1

CAP

2шт.

38

154535A1

O-RING

2шт.

39

LJ01143

VALVE, PRESSURE RELI

EF

2шт.

40

108R020Z060N

BOLT

4шт.

41

160903A1

CAP

2шт.

42

LM00076

GAUGE

1шт.

43

155201A1

O-RING

1шт.

44

LR00895

CAP

1шт.

LZ00632

SEAL KIT

1шт.

Consists Of Ref. Numbers 3, 12, 14, 20, 30-34, 38, 43

1шт.

Выбрано товаров: 62