Запчасти Case CX350 (08-177-00[01]) - CONTROL VALVE (08) - HYDRAULICS

Схема запчастей Case CX350 - (08-177-00[01]) - CONTROL VALVE (08) - HYDRAULICS
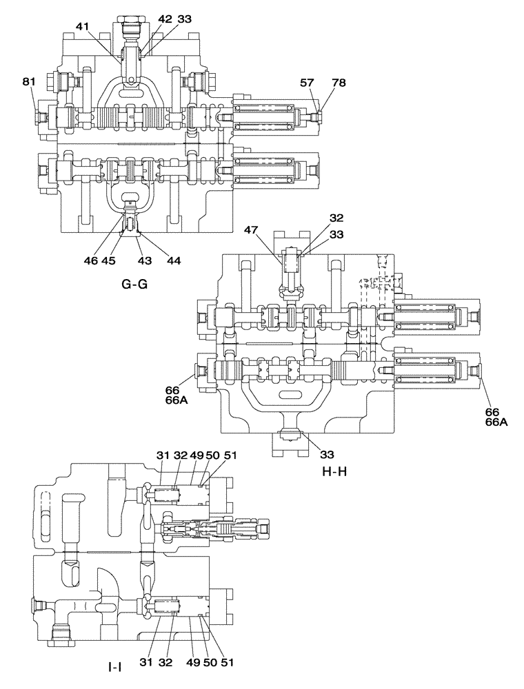
32
41
78
31
42
66a
33
81
33
51
45
49
47
46
57
66a
33
32
50
44
43
49
66
50
32
66
31
51
FIT
1:1
100%

Артикул

Название

Примечание

Количество

31

LJ00727

VALVE POPPET

2шт.

32

LG00341

SPRING

3шт.

33

154539A1

O-RING

3шт.

41

LJ00728

VALVE POPPET

1шт.

42

LG00342

SPRING

1шт.

43

155464A1

PLUG

1шт.

44

155222A1

O-RING

1шт.

45

156026A1

SPRING

1шт.

46

LJ00972

VALVE POPPET

1шт.

47

LJ00730

VALVE POPPET

1шт.

49

LH00251

SPACER

2шт.

50

154507A1

O-RING

2шт.

51

153987A1

BACK-UP RING

2шт.

57

154467A1

O-RING,10.8mm ID x 2.4mm Width

1шт.

66

163972A1

PLUG

2шт.

Consists Of Ref. Number 66A

1шт.

66a

154467A1

O-RING,10.8mm ID x 2.4mm Width

1шт.

78

LK00321

PLUG

1шт.

81

155447A1

PLUG

1шт.

Выбрано товаров: 19