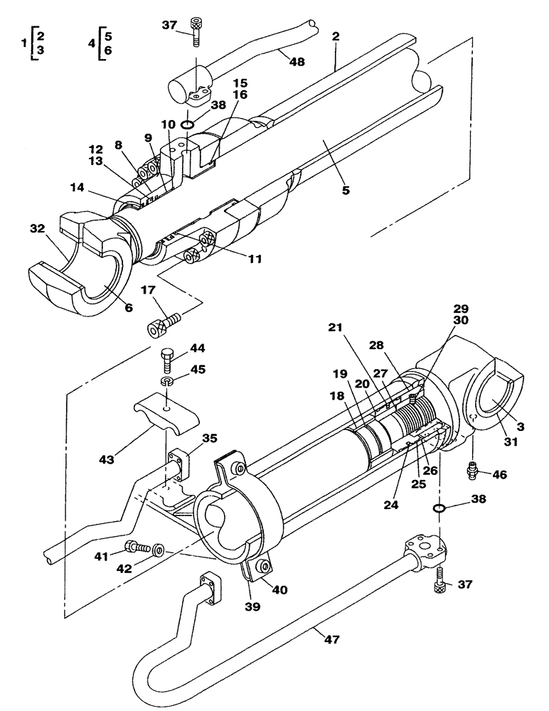
Запчасти Case CX350 (08-199-00[01]) - BOOM CYLINDER - LEFT - WITHOUT VALVE, PRESSURE RELIEF (08) - HYDRAULICS

Схема запчастей Case CX350 - (08-199-00[01]) - BOOM CYLINDER - LEFT - WITHOUT VALVE, PRESSURE RELIEF (08) - HYDRAULICS
45
13
2
40
37
3
30
31
12
37
24
21
9
39
20
4
44
17
5
38
19
29
41
11
6
15
42
28
16
32
25
18
48
8
3
43
10
47
14
35
27
46
6
38
5
26
1
FIT
1:1
100%

Артикул

Название

Примечание

Количество

KSV1394

HYDRAULIC CYLINDER

1шт.

Consists Of Ref. Numbers 1 To 46

1шт.

1

LR00791

HYD CYL SLEEVE

1шт.

Consists Of Ref. Numbers 2, 3

1шт.

2

NSS

NOT SOLD SEPARAT

1шт.

3

LB00728

BUSHING

1шт.

4

LB00729

PISTON ROD

1шт.

Consists Of Ref. Numbers 5, 6

1шт.

5

NSS

NOT SOLD SEPARAT

1шт.

6

155426A1

BUSHING

1шт.

8

LU00153

CYLINDER END CAP

1шт.

9

155429A1

BUSHING

1шт.

10

155695A1

RING, SNAP

RING SNAP

1шт.

11

LE00953

RING

1шт.

11a

LB00728

BUSHING

1шт.

12

BLA2786

O-RING

1шт.

13

LE00954

BACK-UP RING

1шт.

14

160502A1

WIPER SEAL

1шт.

15

154797A1

O-RING

1шт.

16

LE00739

BACK-UP RING

1шт.

17

108R020Z080N

BOLT

M20 x 80; 12.9

10шт.

18

160550A1

RING

1шт.

19

LE00955

SEAL

1шт.

20

LJ00898

JACK PISTON

1шт.

21

LE00742

BACK-UP RING

1шт.

24

LE00743

BACK-UP RING

2шт.

25

LE00744

SCRAPER RING

2шт.

26

LE00745

SCRAPER RING

2шт.

27

155733A1

SHIM

1шт.

28

LA00738

NUT

1шт.

29

156228A1

SET SCREW

1шт.

30

155981A1

BALL

1шт.

31

162962A1

WIPER SEAL

2шт.

32

163840A1

WIPER SEAL

2шт.

37

863-12035

HEX SOC SCREW,M12 x 35mm, Cl 12.9

8шт.

38

154543A1

O-RING

2шт.

39

LD00082

CLAMP BRACKET

1шт.

40

LD00083

CLAMP BRACKET

1шт.

41

158131A1

BOLT,High Strength, M10 x 1.5 x 35mm, Cl 10.9

2шт.

42

156227A1

WASHER

2шт.

43

155709A1

COLLAR

2шт.

44

102R014S090N

BOLT

1шт.

45

892-16014

LOCK WASHER,M14, Hvy

1шт.

46

153630A1

LUBE NIPPLE

1шт.

47

LR01176

TUBE ASSY.

1шт.

48

LR01177

HYD TUBE

1шт.

LZ00483

SEAL KIT

1шт.

Consists Of Ref. Numbers 11 To 16, 19, 21 To 26

1шт.

Выбрано товаров: 48