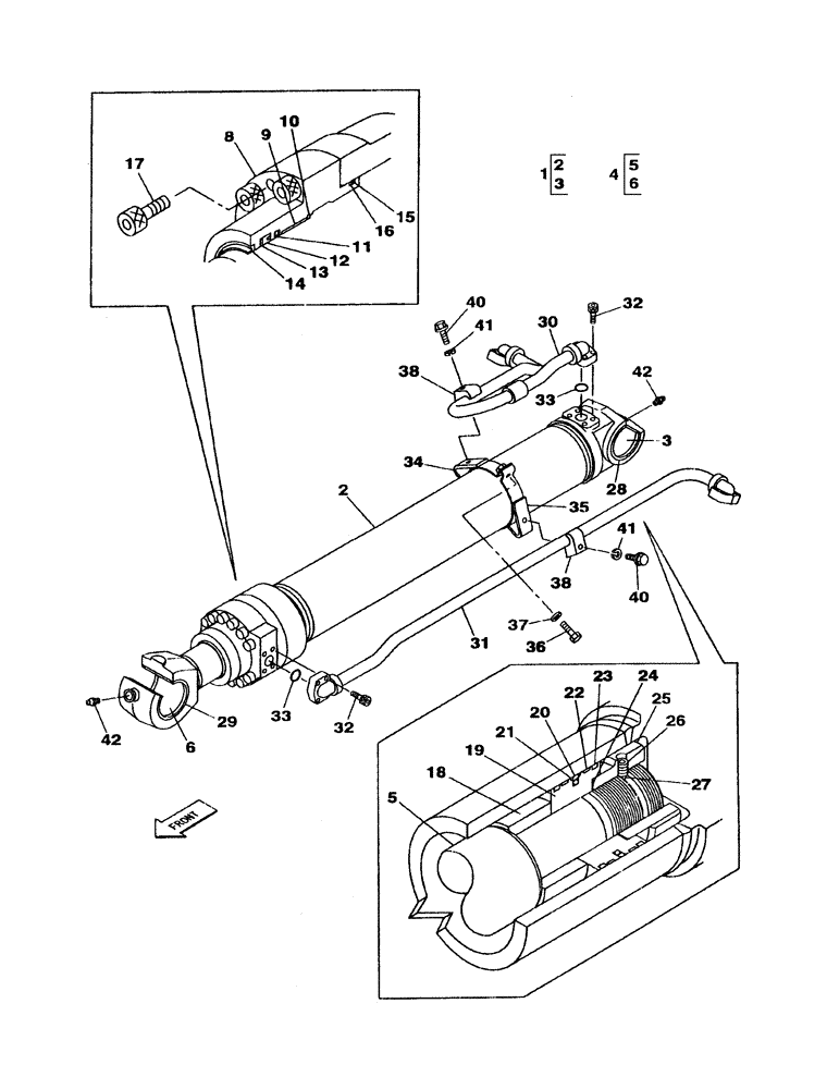
Запчасти Case CX350 (08-215-00[01]) - BUCKET CYLINDER (08) - HYDRAULICS

Схема запчастей Case CX350 - (08-215-00[01]) - BUCKET CYLINDER (08) - HYDRAULICS
6
34
12
35
38
32
33
6
3
32
38
20
15
29
10
19
9
5
41
4
42
26
40
17
31
1
36
16
27
13
42
2
21
37
11
28
25
40
33
23
30
41
14
5
3
18
22
2
24
8
FIT
1:1
100%

Артикул

Название

Примечание

Количество

KSV1396

BUCKET CYLINDER

1шт.

Consists Of Ref. Numbers 1 To 42

1шт.

1

LR00787

HYD CYL SLEEVE

1шт.

Consists Of Ref. Numbers 2, 3

1шт.

2

NSS

NOT SOLD SEPARAT

1шт.

3

LB00723

BUSHING

1шт.

4

LB00724

PISTON ROD

1шт.

Consists Of Ref. Numbers 5, 6

1шт.

5

NSS

NOT SOLD SEPARAT

1шт.

6

LB00727

BUSHING

1шт.

8

LU00151

CYLINDER END CAP

1шт.

9

160049A1

BUSHING

1шт.

10

155711A1

RING, SNAP

RING SNAP

1шт.

11

LE00762

RING

1шт.

12

LAU0025

RING

1шт.

13

LE00738

BACK-UP RING

1шт.

14

159960A1

BACK-UP RING

1шт.

15

154805A1

O-RING

1шт.

16

159997A1

BACK-UP RING

1шт.

17

LUU0042

BOLT,Hex Skt Hd

1шт.

18

LMU0312

BACK-UP RING

1шт.

19

LJ00897

JACK PISTON

1шт.

20

LE00543

SEALING RING

SEALRING

1шт.

21

160000A1

BACK-UP RING

2шт.

22

LE00950

GUIDE RING

2шт.

23

155309A1

RING

2шт.

24

155733A1

SHIM

1шт.

25

LA00738

NUT

1шт.

26

156228A1

SET SCREW

1шт.

27

155981A1

BALL

1шт.

28

LE00951

WIPER SEAL

2шт.

29

LE00952

WIPER SEAL

2шт.

30

LR00789

TUBE

1шт.

31

LR00790

TUBE

1шт.

32

861-12040

HEX SOC SCREW,M12 x 40mm, Cl 12.9

8шт.

33

154543A1

O-RING

2шт.

34

LD00080

CLAMP BRACKET

1шт.

35

LD00081

CLAMP BRACKET

1шт.

36

158131A1

BOLT,High Strength, M10 x 1.5 x 35mm, Cl 10.9

2шт.

37

156227A1

WASHER

2шт.

38

155716A1

COLLAR

2шт.

40

164114A1

BOLT

2шт.

41

892-10012

LOCK WASHER,M12

2шт.

42

153630A1

LUBE NIPPLE

2шт.

LZ00482

SEAL KIT

1шт.

Consists Of Ref. Numbers 11 To 16, 20 To 23

1шт.

Выбрано товаров: 46