Запчасти Case CX350 (05-015-00[01]) - STEEL TRACK (11) - TRACKS/STEERING

Схема запчастей Case CX350 - (05-015-00[01]) - STEEL TRACK (11) - TRACKS/STEERING
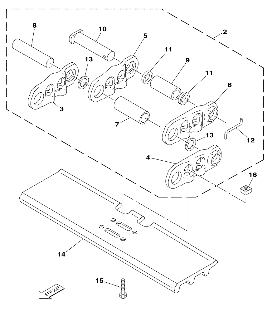
5
11
3
13
10
4
6
13
16
12
15
8
14
11
7
2
9
FIT
1:1
100%

Артикул

Название

Примечание

Количество

2

KSA1166

CHAIN (CE)

2шт.

Consists Of Ref. Numbers 3 To 13

1шт.

3

KSA1109

CHAIN LINK

47шт.

4

KSA1110

CHAIN LINK

47шт.

5

KSA1111

CHAIN LINK

1шт.

6

KSA1112

CHAIN LINK

1шт.

7

KSA1113

BUSHING

47шт.

8

KSA1114

PIN

47шт.

9

KSA1115

BUSHING

1шт.

10

KSA1116

HEADED PIN

1шт.

11

KSA1117

RING

2шт.

12

KSA1118

SPLIT PIN/SAFETY PIN

1шт.

13

KSA1119

SEAL

94шт.

14

KSA1106

TRACK SHOE

600 mm (23-5/8 in)

96шт.

14

KBA1161

TRACK SHOE

700 mm (27-5/8 in)

96шт.

14

KSA1167

TRACK SHOE

800 mm (31-1/2 in)

96шт.

15

KSA1107

BOLT

384шт.

16

KSA1108

NUT

384шт.

Выбрано товаров: 18