Запчасти Case CX350 (03-005-05[01]) - WATER SEPARATOR ASSY (04) - ELECTRICAL SYSTEMS

Схема запчастей Case CX350 - (03-005-05[01]) - WATER SEPARATOR ASSY (04) - ELECTRICAL SYSTEMS
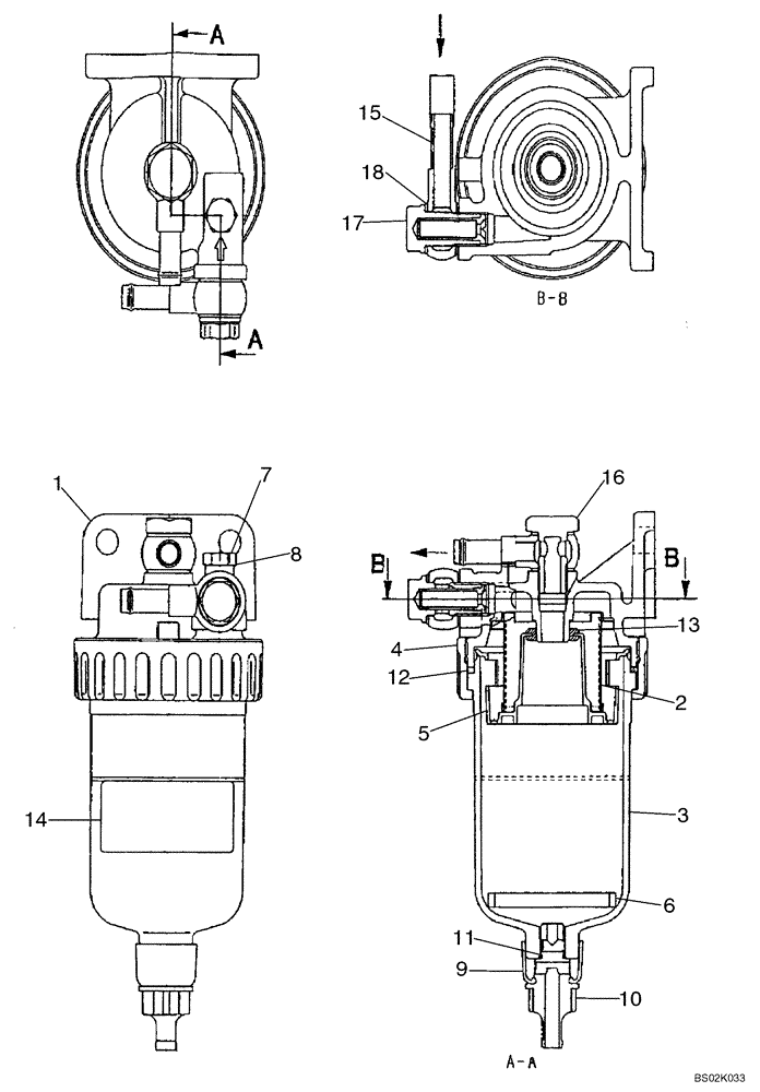
6
2
10
3
4
16
13
18
12
9
7
14
5
8
1
15
17
11
FIT
1:1
100%

Артикул

Название

Примечание

Количество

KTH0672

WATER TRAP

1шт.

Consists Of Ref. Numbers 1 To 18

1шт.

1

NSS

NOT SOLD SEPARAT

1шт.

2

NSS

NOT SOLD SEPARAT

1шт.

3

NSS

NOT SOLD SEPARAT

1шт.

4

NSS

NOT SOLD SEPARAT

1шт.

5

NSS

NOT SOLD SEPARAT

1шт.

6

NSS

NOT SOLD SEPARAT

1шт.

7

169011A1

PLUG

1шт.

8

LEH0005

GASKET

1шт.

LK00451

PLUG

1шт.

Consists Of Ref. Numbers 9 To 11

1шт.

9

155353A1

PLUG

1шт.

10

155467A1

PLUG, DRAIN

1шт.

11

154462A1

O-RING

1шт.

12

LE01023

O-RING

1шт.

13

NSS

NOT SOLD SEPARAT

1шт.

14

NSS

NOT SOLD SEPARAT

1шт.

15

158679A1

FITTING

2шт.

16

LA00657

BOLT

1шт.

17

LA00657

BOLT

1шт.

18

158678A1

GASKET

4шт.

Выбрано товаров: 22