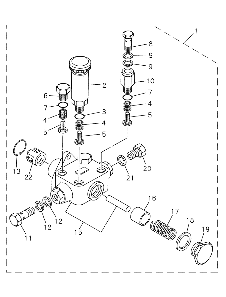
Запчасти Case CX350 (03-027-00[01]) - FUEL LIFT PUMP - FUEL INJECTION PUMP (04) - ELECTRICAL SYSTEMS

Схема запчастей Case CX350 - (03-027-00[01]) - FUEL LIFT PUMP - FUEL INJECTION PUMP (04) - ELECTRICAL SYSTEMS
4
7
3
11
16
17
15
20
5
6
18
1
2
5
21
13
12
4
10
19
4
5
22
9
7
12
9
8
FIT
1:1
100%

Артикул

Название

Примечание

Количество

1

440298A1

FEED PUMP

1шт.

Consists Of Ref. Numbers 2 To 22

1шт.

2

362195A1

PUMP

1шт.

3

362150A1

GASKET

1шт.

4

289973A1

SPRING

4шт.

5

355885A1

SPRING SEAT

4шт.

6

440302A1

PLUG

2шт.

7

440154A1

GASKET

3шт.

8

289314A1

BOLT

1шт.

9

426423A1

GASKET

14,2 mm ID

2шт.

10

440303A1

ADAPTER

1шт.

11

289315A1

BANJO BOLT

1шт.

12

426423A1

GASKET

14,2 mm ID

2шт.

13

440343A1

RING

1шт.

15

440299A1

HOUSING

1шт.

16

289969A1

PISTON

1шт.

17

440342A1

SPRING

1шт.

18

355895A1

GASKET

1шт.

19

289626A1

PLUG

1шт.

20

440301A1

PLUG

1шт.

21

426423A1

GASKET

14,2 mm ID

1шт.

22

440300A1

TAPPET

1шт.

Выбрано товаров: 22