Качественные детали и логистика
Оригинальные и аналоговые запчасти с доставкой по России, Казахстану и Беларуси
©2022 PartSell ООО "Система" ИНН 2463123282 ОГРН 1212400004838
Центральный офис: г. Красноярск, Академика Киренского, д.87, пом.4
Телефон: 8 (800) 777-65-74 Email: zakaz@partsell.ru
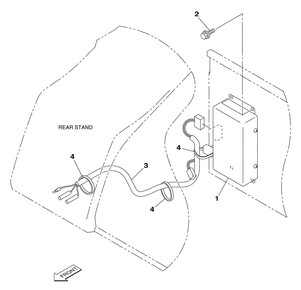
(04-023-00[01]) - ELECTRICAL CIRCUIT - TRANSFORMER
№
Артикул
Название
Примечание
Количество
1
167181A1
TRANSFORMER
1шт.
2
159602A1
BOLT,Sems, Hex, M6 x 16mm
4шт.
3
KHR2719
HARNESS
4
150067A1
MOUNTING CLIP
150 mm
3шт.
Выбрано товаров: 0