Запчасти Case CX350 (04-033-00[01]) - BATTERIES (05) - STEERING

Схема запчастей Case CX350 - (04-033-00[01]) - BATTERIES (05) - STEERING
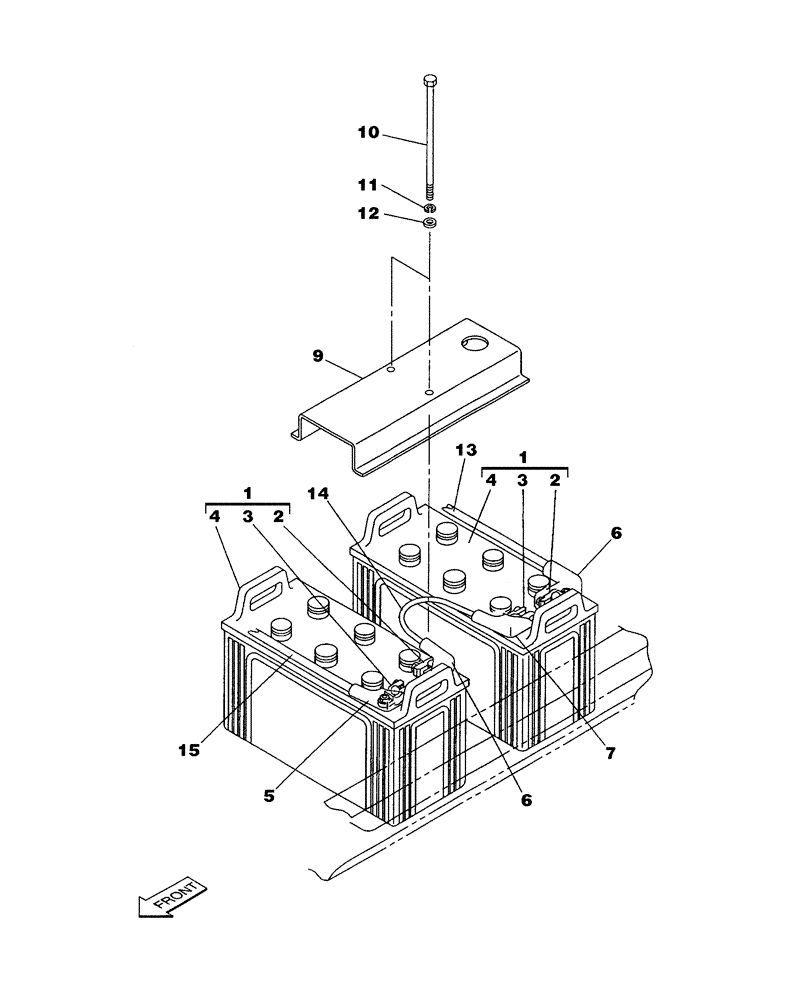
9
1
6
13
2
6
10
3
7
4
4
12
15
14
3
5
11
2
1
FIT
1:1
100%

Артикул

Название

Примечание

Количество

1

NSS

NOT SOLD SEPARAT

2шт.

Consists Of Ref. Numbers 2, 3, 4

1шт.

2

158403A1

TERMINAL CONNECTOR

1шт.

3

150455A1

TERMINAL CONNECTOR

1шт.

4

150803A1

BATTERY, DRY

BATTERY DRY

1шт.

5

150366A1

CAP

1шт.

6

166116A1

DUST CAP

2шт.

7

166117A1

DUST CAP

1шт.

9

161011A1

SUPPORT

1шт.

10

152821A1

BOLT,Spcl, Hex, M10 x 270mm

2шт.

11

892-11010

LOCK WASHER,M10

2шт.

12

150409A1

WASHER

10,5 x 21 x 3,2 mm

2шт.

13

KHR3075

ELECTRIC CABLE

1шт.

CX330 : See Page(s) 04-003-00-01

1шт.

CX350 : See Page(s) 04-009-00-01

1шт.

14

KHR2430

ELECTRIC CABLE

1шт.

CX330 : See Page(s) 04-003-00-01

1шт.

CX350 : See Page(s) 04-009-00-01

1шт.

15

159915A1

ELECTRIC CABLE

1шт.

CX330 : See Page(s) 04-003-00-01

1шт.

CX350 : See Page(s) 04-009-00-01

1шт.

Выбрано товаров: 21