Запчасти Case CX350 (04-045-00[01]) - ELECTRICAL CIRCUIT - CAB (05) - STEERING

Схема запчастей Case CX350 - (04-045-00[01]) - ELECTRICAL CIRCUIT - CAB (05) - STEERING
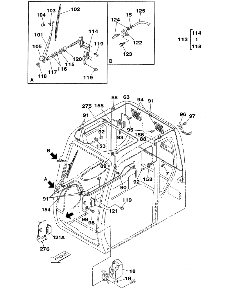
88
95
102
114
98
91
114
93
105
101
153
122
123
94
117
113
89
88
91
153
119
63
121a
125
275
103
104
120
118
92
97
15
19
115
124
96
121
155
154
119
18
91
92
116
156
119
7
118
99
90
276
FIT
1:1
100%

Артикул

Название

Примечание

Количество

7

161381A1

COLLAR

4шт.

15

161363A1

GROMMET

1шт.

18

161374A1

RESERVOIR ASSY.

1шт.

Consists Of Ref. Number 19

1шт.

19

KHN2506

PLUG

1шт.

63

KHN2687

SCREW,Spcl

M5 x 14

4шт.

88

KHN2709

GROMMET

2шт.

89

KHN2710

GROMMET

1шт.

90

KHN2711

CABLE CLIP

1шт.

91

KHN2712

FASTENER

7шт.

92

KHN2713

SCREW,Spcl

M5 x 16

2шт.

93

KHN2714

COURTESY LIGHT

DOME LIGHT

1шт.

94

KHN2935

SIEVE

2шт.

95

KHN2716

SCREW,Spcl

M4 x 12

8шт.

96

KHN2717

ANTENNA

1шт.

97

KHN2718

SCREW,Spcl

M3,5 x 16

1шт.

98

KHN2719

SCREW,Spcl

M6 x 12

1шт.

99

KHN2720

WASHER

1шт.

101

KHN2730

WIPER ARM

1шт.

102

KHN2731

WIPER BLADE

1шт.

103

KHN2732

ADAPTER

1шт.

104

KHN2733

SCREW,Spcl

2шт.

105

KHN2734

CAP ASSY.

1шт.

113

KHN2735

WIPER MOTOR

MOTOR, WIPER

1шт.

Consists Of Ref. Numbers 114 To 118

1шт.

113

KHN3544

WIPER MOTOR

MOTOR, WIPER

1шт.

Consists Of Ref. Numbers 114 To 118

1шт.

114

NSS

NOT SOLD SEPARAT

Wiper Motor

1шт.

115

KHN2737

WASHER

1шт.

116

KHN2738

SPECIAL NUT

2шт.

117

KHN2739

CAP

1шт.

118

KHN2740

SPECIAL NUT

1шт.

119

KHN2741

SCREW,Spcl

M6 x 1 x 16

8шт.

120

KHN2742

SPACER

1шт.

121

KHN2743

ECU

1шт.

Serial Number : CX330 DCH33B0101 To DCH33B0242 / CX350 DCH33B0101 To DCH33B0242

1шт.

Replaced By KHN3392, KHR4123

1шт.

121a

KHN3392

ECU

1шт.

Serial Number : CX330 DCH33B0243 And After / CX350 DCH33B0243 And After

1шт.

121a

KHN3392R

REMAN ELECT CONTROL

CX350 CASE CRAWLER EXCAVATOR (EUROPE), Serial Number: DCH33B0243 And After

1шт.

121a

KHN3392C

CORE-ELECTRONIC CONT

Return Number

1шт.

122

KHN2744

SUPPORT

1шт.

123

KHN2745

BOLT,Spcl

M6 x 1 x 50

1шт.

124

KHN2746

NOZZLE

1шт.

125

KHN2747

HOSE

1шт.

153

KHR2950

LIMIT SWITCH

2шт.

154

KHR3188

HARNESS

1шт.

Serial Number : CX330 DCH33B0101 To DCH33B0242 / CX350 DCH33B0101 To DCH33B0242

1шт.

Replaced By KHN3392, KHR4121

1шт.

154

KHN3392R

REMAN ELECT CONTROL

CX350 CASE CRAWLER EXCAVATOR (EUROPE), Serial Number: DCH33B0101 To DCH33B0242, Reman for New PN KHR3188

1шт.

154

KHN3392C

CORE-ELECTRONIC CONT

Return Number

1шт.

154

KHR4121

HARNESS

1шт.

Serial Number : CX330 DCH33B0243 And After / CX350 DCH33B0243 And After

1шт.

155

KHR3190

HARNESS

1шт.

156

KHR3191

HARNESS

1шт.

275

KHR3349

HARNESS

1шт.

276

KHR4124

ELECTRIC CABLE

1шт.

Serial Number : CX330 DCH33B0243 And After / CX350 DCH33B0243 And After

1шт.

KHR4123

CONVERSION KIT

1шт.

Consists Of Ref. Numbers 121A, 276

1шт.

Выбрано товаров: 60