Запчасти Case CX350 (06-003-05[02]) - TRAVEL REDUCTION GEAR (06) - POWER TRAIN

Схема запчастей Case CX350 - (06-003-05[02]) - TRAVEL REDUCTION GEAR (06) - POWER TRAIN
6
27
12
5
10
13
4
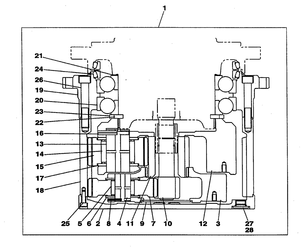
1
22
24
26
19
8
7
9
15
11
28
20
14
18
23
21
25
16
3
2
17
FIT
1:1
100%

Артикул

Название

Примечание

Количество

KSA1288

MOTO-REDUCTION GEAR

1шт.

Consists Of Ref. Numbers 1 To 118

1шт.

1

LN00135

REDUCER

1шт.

Consists Of Ref. Numbers 2 To 28

1шт.

2

LW00385

COVER

1шт.

3

LN00134

HOUSING

1шт.

4

LA00844

PIN

3шт.

5

LB00789

NEEDLE BEARING

3шт.

6

LA00837

THRUST WASHER

6шт.

7

LC00244

GEAR

3шт.

8

338W060Z036N

PIN

6 x 36

3шт.

9

LR00857

PLATE

1шт.

10

LC00204

SUN GEAR

1шт.

11

LC00206

SUN GEAR

1шт.

12

LN00097

HOUSING

1шт.

13

LA00838

PIN

3шт.

14

LB00790

NEEDLE BEARING

3шт.

15

LC00253

GEAR

3шт.

16

338W100Z050B

KEY

10 x 50

3шт.

17

LA00839

THRUST WASHER

6шт.

18

LC00208

HOUSING

1шт.

19

LT00127

HOUSING

1шт.

20

LB00791

BEARING, BALL

2шт.

21

LH00388

SHIM

1шт.

Consists Of Ref. Numbers 21.1 To 21.7

1шт.

21.1

LH00421

SHIM,1.3mm Thk

1шт.

21.2

LH00422

SHIM,1.4mm Thk

1шт.

21.3

LH00423

SHIM,1.5mm Thk

1шт.

21.4

LH00424

SHIM,1.6mm Thk

1шт.

21.5

LH00425

SHIM,1.7mm Thk

1шт.

21.6

LH00426

SHIM,1.8mm Thk

1шт.

21.7

LH00427

SHIM,1.9mm Thk

1шт.

22

LA00832

LOCK WASHER

2шт.

23

LE00992

RING

1шт.

24

LE00993

SEAL

1шт.

25

862-10030

HEX SOC SCREW,M10 x 30mm, Cl 12.9

18шт.

26

108R018Y110R

BOLT

M18 x 110

25шт.

27

LK00383

PLUG

2шт.

28

154503A1

O-RING

2шт.

118

LZ00628

SEAL KIT

1шт.

See Page(s) 07-005-05-02, 07-005-06-02, 07-005-07-02

1шт.

Consists Of Ref. Numbers 28, 45, 46, 58, 66 To 70, 81 To 84, 93, 94, 101, 102, 107, 109, 112 To 114

1шт.

Выбрано товаров: 42