Запчасти Case CX350 (06-007-00[01]) - SWING REDUCTION GEAR (06) - POWER TRAIN

Схема запчастей Case CX350 - (06-007-00[01]) - SWING REDUCTION GEAR (06) - POWER TRAIN
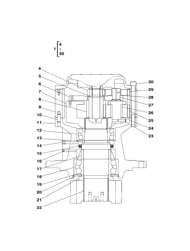
10
27
5
28
7
25
11
26
9
18
1
17
30
30
4
20
15
16
24
4
8
22
14
23
19
12
6
13
29
21
FIT
1:1
100%

Артикул

Название

Примечание

Количество

1

KSC0235

REDUCER

,, Serial Range: -DCH33B0324

1шт.

Consists Of Ref. Numbers 4 To 30

1шт.

1

KSC10250R

REMAN-REDUCTION UNIT

CX350 CASE CRAWLER EXCAVATOR (EUROPE), Reman for New PN KSC0235

1шт.

1

KSC10250C

CORE-REDUCTION UNIT

Return Number

1шт.

1

KSC0253

REDUCER

,, Start Serial: DCH33B0325

1шт.

Consists Of Ref. Numbers 4 To 30

1шт.

4

KSC0220

SUN GEAR

1шт.

5

KSC0212

PLATE, THRUST

1шт.

6

KSC0223

PLANET CARRIER

1шт.

6

KSC0245

CARRIER

1шт.

7

KSC0224

PLANET CARRIER

1шт.

7

KSC0246

CARRIER

1шт.

8

KSC0219

SUN GEAR

1шт.

9

KSC0221

RING

1шт.

10

KTC0155

PIN

4шт.

11

KSC0225

CASE

,, Serial Range: -DCH33B0324

1шт.

11

KSC0248

BOX

,, Start Serial: DCH33B0325

1шт.

12

KSC0207

BEARING,120mm ID x 200mm OD x 62mm W

1шт.

13

KSC0210

SPACER

1шт.

14

150824A1

PLUG

1шт.

15

KTC0153

OIL SEAL

1шт.

16

158352A1

PLUG

2шт.

17

KSC0211

SPACER

,, Serial Range: -DCH33B0324

1шт.

17

KSC0249

SPACER

,, Start Serial: DCH33B0325

1шт.

18

KSC0206

BEARING

,, Serial Range: -DCH33B0324

1шт.

18

150491A1

ROLLER BEARING,130mm ID x 280mm OD x 93mm W

,, Start Serial: DCH33B0325

1шт.

19

KSC0213

BEARING COVER

,, Serial Range: -DCH33B0324

1шт.

19

KSC0250

BEARING COVER

,, Start Serial: DCH33B0325

1шт.

20

KSC0209

RETAINING WIRE

,, Serial Range: -DCH33B0324

1шт.

20

KSC0251

RETAINING WIRE

,, Start Serial: DCH33B0325

1шт.

21

KSC0214

SPACER

1шт.

22

KSC0222

SHAFT

1шт.

23

738-51040

LOCK PIN,M10 x 40, Slotted

4шт.

24

KSC0208

PLATE

4шт.

25

KSC0217

GEAR

4шт.

26

KSC0215

PIN

4шт.

27

KSC0216

PIN

3шт.

28

KSC0226

PLATE

3шт.

29

KSC0218

GEAR

3шт.

30

150483A1

BOLT,Hex Skt, M20

12шт.

Выбрано товаров: 40