Запчасти Case CX350 (07-005-06[02]) - TRAVEL MOTOR - RELIEF VALVE (07) - BRAKES

Схема запчастей Case CX350 - (07-005-06[02]) - TRAVEL MOTOR - RELIEF VALVE (07) - BRAKES
76
86
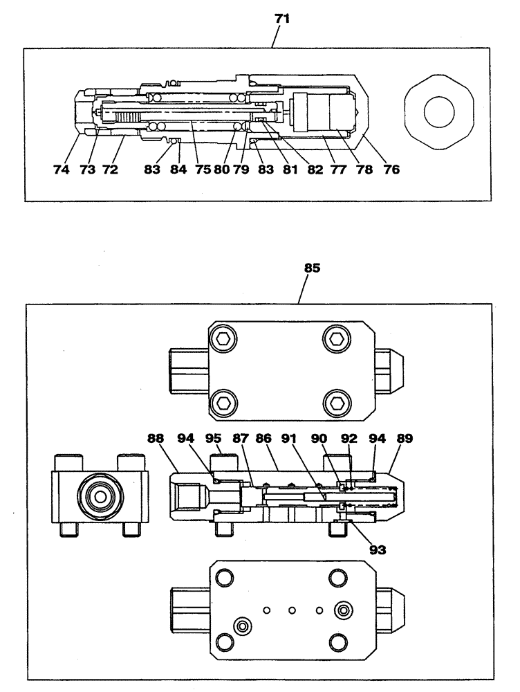
85
74
83
71
75
93
72
83
94
91
77
87
94
80
79
90
89
92
73
88
84
82
81
78
95
FIT
1:1
100%

Артикул

Название

Примечание

Количество

71

LJ00958

VALVE, PRESSURE RELI

EF

2шт.

Consists Of Ref. Numbers 72 To 84

1шт.

72

LK00386

SOCKET

1шт.

73

LJ00959

VALVE

1шт.

74

LR00863

SEAT, VALVE

1шт.

75

LJ00960

PISTON

1шт.

76

LR00864

CAP

1шт.

77

LH00322

SLEEVE

1шт.

78

LJ00961

PISTON

1шт.

79

LH00323

SHIM

1шт.

80

LG00432

COMPRESSION SPRING

1шт.

81

154451A1

O-RING

1шт.

82

153943A1

BACK-UP RING

2шт.

83

154509A1

O-RING

2шт.

84

153987A1

BACK-UP RING

1шт.

85

LJ00962

VALVE

1шт.

Consists Of Ref. Numbers 86 To 95

1шт.

86

LR00865

VALVE BODY

1шт.

87

LJ00963

SPOOL

1шт.

88

LK00387

SOCKET

1шт.

89

LK00388

PLUG

1шт.

90

LR00866

SPRING SEAT

1шт.

91

LA00833

SPECIAL PIN

1шт.

92

LG00433

COMPRESSION SPRING

1шт.

93

154447A1

O-RING

2шт.

94

154475A1

O-RING

2шт.

95

LA00384

BOLT,Hex Skt Hd

M8 x 32

4шт.

118

LZ00628

SEAL KIT

1шт.

Consists Of Ref. Numbers 28, 45, 46, 58, 66 To 70, 81 To 84, 93, 94, 101, 102, 107, 109, 112 To 114

1шт.

See Page(s) 06-003-05-02, 07-005-05-02, 07-005-07-02

1шт.

Выбрано товаров: 30