Запчасти Case CX350 (07-007-00[01]) - SWING JOINT (07) - BRAKES

Схема запчастей Case CX350 - (07-007-00[01]) - SWING JOINT (07) - BRAKES
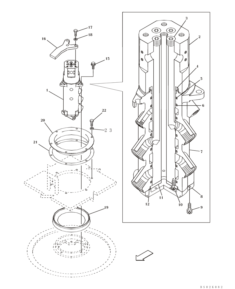
4
8
17
20
12
3
2
10
16
9
6
bs02k082
22
23
18
1
7
19
5
11
21
15
FIT
1:1
100%

Артикул

Название

Примечание

Количество

1

KSA1136

JOINT TURNING

1шт.

Consists Of Ref. Numbers 2 To 12

1шт.

1

KSA1305R

REMAN-HYDRAULIC SWIV

CX350 CASE CRAWLER EXCAVATOR (EUROPE), Reman for New PN KSA1136

1шт.

1

KSA1305C

CORE-HYDRAULIC SWIV

Return Number

1шт.

2

KSA1137

ROTOR

1шт.

Consists Of Ref. Number 3

1шт.

3

150829A1

PLUG

4шт.

4

KTA1092

SHAFT SEAL

1шт.

5

154712A1

O-RING

1шт.

6

KTA1093

SEALING RING

SEALRING

6шт.

7

KTA1094

VALVE BODY

1шт.

8

KTA1095

COVER

1шт.

9

861-10030

HEX SOC SCREW,M10 x 30mm, Cl 12.9

4шт.

10

861-8020

HEX SOC SCREW,M8 x 20mm, Cl 12.9

4шт.

11

KTA1096

PLATE

1шт.

12

154761A1

O-RING,119.4mm ID x 3.1mm Width

1шт.

15

166352A1

BOLT

3шт.

16

KSA1140

SUPPORT

1шт.

17

627-16035

BOLT,Hex, M16 x 2 x 35mm, Cl 10.9, Full Thd

3шт.

18

150814A1

WASHER,17mm ID x 32mm OD x 4.5mm Thk

3шт.

19

151009A1

SEALING RING

1шт.

20

152635A1

RETAINER

1шт.

21

152596A1

RUBBER SEAL

1шт.

22

627-12020

BOLT,Hex, M12 x 1.75 x 20mm, Cl 10.9, Full Thd

6шт.

23

161498A1

SEALING WASHER

6шт.

Выбрано товаров: 25