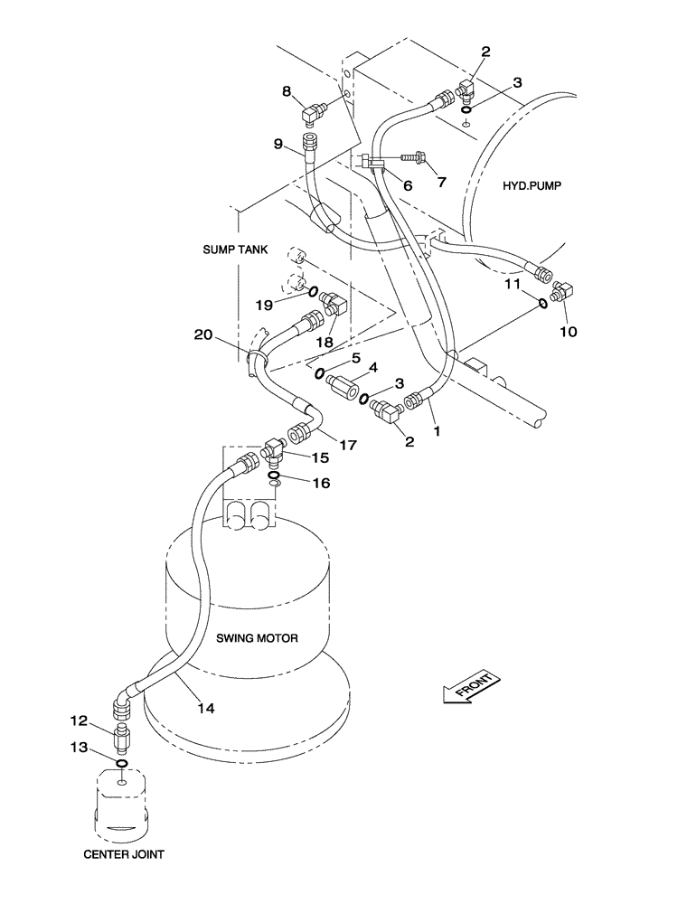
Запчасти Case CX350 (08-029-00[01]) - HYDRAULIC CIRCUIT - LEAK-OFF RETURN - WITHOUT VALVE, PRESSURE RELIEF (08) - HYDRAULICS

Схема запчастей Case CX350 - (08-029-00[01]) - HYDRAULIC CIRCUIT - LEAK-OFF RETURN - WITHOUT VALVE, PRESSURE RELIEF (08) - HYDRAULICS
14
17
3
9
8
10
13
3
1
19
2
20
16
15
5
18
2
4
6
12
7
11
FIT
1:1
100%

Артикул

Название

Примечание

Количество

1

KSJ2972

HYDRAULIC HOSE,25.40 mm ID x 900.00 mm

1шт.

2

KHJ0603

ELBOW

2шт.

Consists Of Ref. Number 3

1шт.

3

154503A1

O-RING

1шт.

4

152012A1

ELEC CONNECTOR

1шт.

Consists Of Ref. Number 5

1шт.

5

154503A1

O-RING

1шт.

6

KHR2581

CLAMP

1шт.

7

KHJ1215

BOLT,Spcl

1шт.

8

157937A1

ELBOW

1шт.

9

KRJ6431

HYDRAULIC HOSE,12.70 mm ID x 1700.00 mm

1шт.

10

150919A1

ELBOW,90 Degree, 1/2" O-Ring x 1/2"

1шт.

Consists Of Ref. Number 11

1шт.

11

154487A1

O-RING

1шт.

12

KAJ2358

FITTING

1шт.

Consists Of Ref. Number 13

1шт.

13

154487A1

O-RING

1шт.

14

KSJ2790

HYDRAULIC HOSE,19.05 mm ID x 880.00 mm

1шт.

15

163114A1

TEE

1шт.

Consists Of Ref. Number 16

1шт.

16

154487A1

O-RING

1шт.

17

KAJ3619

HYDRAULIC HOSE,19mm ID x 950mm L

1шт.

18

157580A1

ELBOW,90 Degree, 3/4" O-Ring x 3/4"

1шт.

Consists Of Ref. Number 19

1шт.

19

154503A1

O-RING

1шт.

20

150071A1

MOUNTING CLIP

380 mm

1шт.

Выбрано товаров: 26