Запчасти Case CX460 (08-19A) - HYDRAULICS - BUCKET, 4,85 METER (15 FT 11 IN) ARM (08) - HYDRAULICS

Схема запчастей Case CX460 - (08-19A) - HYDRAULICS - BUCKET, 4,85 METER (15 FT 11 IN) ARM (08) - HYDRAULICS
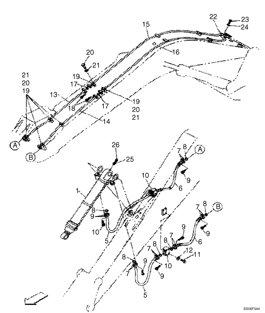
19
12
19
9
21
15
18
10
8
7
20
6
13
21
17
8
9
5
8
8
16
20
7
1
7
11
5
8
8
9
24
14
26
9
19
17
25
21
22
7
10
6
10
9
8
20
23
9
7
FIT
1:1
100%

Артикул

Название

Примечание

Количество

1

KTV1459

CYLINDER ASSY.

Bucket, See Figure 08-95

1шт.

5

KSV1191

HYDRAULIC HOSE,25.40 mm ID x 1400.00 mm

2шт.

6

KSV1138

HYDRAULIC HOSE,25.40 mm ID x 2000.00 mm

2шт.

7

153459A1

FLANGE

16шт.

8

155211A1

O-RING

8шт.

9

862-10040

HEX SOC SCREW,M10 x 40mm, Cl 12.9

32шт.

10

KSV1133

MANIFOLD VALVE

2шт.

11

827-12080

BOLT,Hex, M12 x 1.75 x 80mm, Cl 10.9

8шт.

12

150811A1

WASHER

8шт.

13

KTV1190

HYD TUBE,26 mm ID x 34 mm OD

1шт.

14

KTV1191

TUBE ASSY.,26 mm ID x 34 mm OD

1шт.

15

KTV1192

HYD TUBE,26 mm ID x 34 mm OD

1шт.

16

KTV1193

HYD TUBE,26 mm ID x 34 mm OD

1шт.

17

154548A1

O-RING

2шт.

18

862-10045

HEX SOC SCREW,M10 x 45mm, Cl 12.9

8шт.

19

150777A1

COLLAR

6шт.

20

827-16070

BOLT,Hex, M16 x 2 x 70mm, Cl 10.9

6шт.

21

150814A1

WASHER,17mm ID x 32mm OD x 4.5mm Thk

6шт.

22

162595A1

CLAMP

1шт.

23

827-16070

BOLT,Hex, M16 x 2 x 70mm, Cl 10.9

1шт.

24

150814A1

WASHER,17mm ID x 32mm OD x 4.5mm Thk

1шт.

25

152191A1

BUSHING

1шт.

25

153631A1

LUBE NIPPLE,1/8"-27 NPT

1шт.

Выбрано товаров: 23