Запчасти Case CX460 (08-28) - PILOT CONTROL LINES, PARTITION - MODELS WITH CONTROL SELECTOR VALVE (08) - HYDRAULICS

Схема запчастей Case CX460 - (08-28) - PILOT CONTROL LINES, PARTITION - MODELS WITH CONTROL SELECTOR VALVE (08) - HYDRAULICS
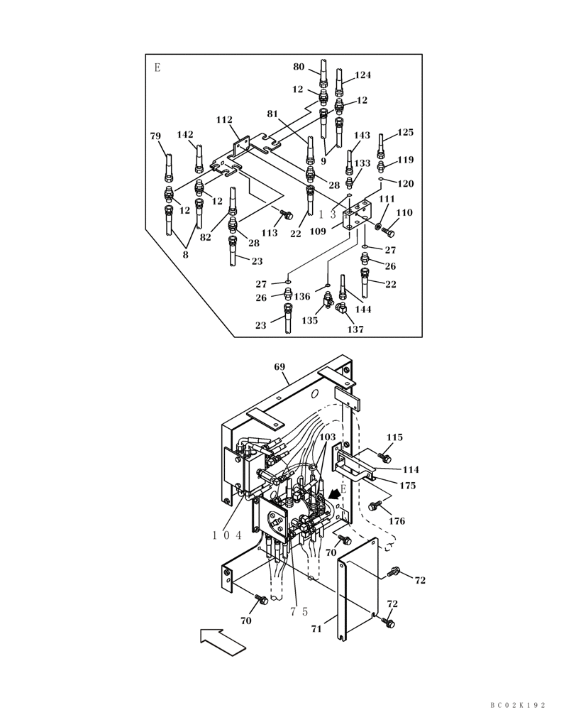
135
26
75
103
9
12
27
22
e
120
12
125
28
104
144
175
124
143
137
28
80
133
bc02k192
79
136
115
110
12
81
70
114
72
142
8
176
111
22
12
e
27
134
82
109
26
69
23
112
119
113
70
23
72
71
FIT
1:1
100%

Артикул

Название

Примечание

Количество

8

KRJ4336

HYDRAULIC HOSE,9.50 mm ID x 2200.00 mm

See Figure 08-25

2шт.

9

168025A1

HYDRAULIC HOSE,9.50 mm ID x 1950.00 mm

See Figure 08-25

2шт.

12

162826A1

ADAPTER

4шт.

22

KHJ1345

HYDRAULIC HOSE,9.52 mm ID x 2150.00 mm

See Figure 08-25

2шт.

23

168025A1

HYDRAULIC HOSE,9.50 mm ID x 1950.00 mm

See Figure 08-25

2шт.

26

152747A1

ADAPTER

Incl. 27

2шт.

27

154467A1

O-RING,10.8mm ID x 2.4mm Width

1шт.

28

162826A1

ADAPTER

2шт.

69

KTJ2107

BRACKET

1шт.

70

166352A1

BOLT

3шт.

71

KTJ2108

COVER

1шт.

72

166052A1

BOLT

4шт.

75

KHJ2184

VALVE

See Figure 08-29, 08-88

1шт.

79

KHJ1306

HYDRAULIC HOSE,9.52 mm ID x 550.00 mm

See Figure 08-29

1шт.

80

167871A1

HYDRAULIC HOSE,19.00 mm ID x 700.00 mm

See Figure 08-29

1шт.

81

KHJ1306

HYDRAULIC HOSE,9.52 mm ID x 550.00 mm

See Figure 08-29

1шт.

82

167871A1

HYDRAULIC HOSE,19.00 mm ID x 700.00 mm

See Figure 08-29

1шт.

103

150496A1

MOUNTING CLIP

1шт.

104

KTJ2288

VALVE, CUSHION

See Figure 08-29, 08-89

1шт.

104a

KTJ11150

VALVE PRESSURE RELIE

See Figure 08-29, 08-89A

1шт.

109

KHJ17120

VALVE SECTION

; Replaces KHJ1973

1шт.

110

827-8045

BOLT,Hex, M8 x 1.25 x 45mm, Cl 10.9

2шт.

111

153081A1

WASHER

2шт.

112

KTJ10020

BRACKET

1шт.

113

166052A1

BOLT

2шт.

114

KTJ2109

BRACKET

1шт.

115

166052A1

BOLT

2шт.

119

152747A1

ADAPTER

Incl. 120

1шт.

120

154467A1

O-RING,10.8mm ID x 2.4mm Width

1шт.

124

157969A1

HOSE

See Figure 08-36

1шт.

125

157967A1

HOSE

See Figure 08-36

1шт.

133

152747A1

ADAPTER

Incl. 134

1шт.

134

154467A1

O-RING,10.8mm ID x 2.4mm Width

1шт.

135

KHJ1974

TEE

Incl. 136

1шт.

136

154467A1

O-RING,10.8mm ID x 2.4mm Width

1шт.

137

163814A1

ELBOW

1шт.

142

KMJ1829

HOSE

See Figure 08-36

1шт.

143

159231A1

HYDRAULIC HOSE

See Figure 08-36

1шт.

144

162193A1

HOSE ASSY.

See Figure 08-36

1шт.

175

159036A1

CLAMP

1шт.

176

166350A1

BOLT

2шт.

Выбрано товаров: 41