Запчасти Case CX460 (08-32) - PILOT CONTROL LINES, PARTITION - MODELS WITH LOAD HOLD & CONTROL SELECTOR VALVE (08) - HYDRAULICS

Схема запчастей Case CX460 - (08-32) - PILOT CONTROL LINES, PARTITION - MODELS WITH LOAD HOLD & CONTROL SELECTOR VALVE (08) - HYDRAULICS
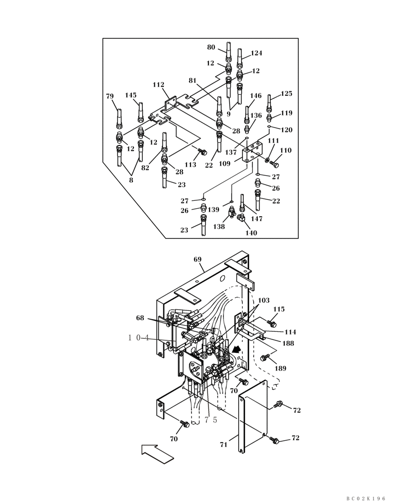
147
189
112
114
bc02k196
80
82
137
113
27
69
139
28
75
12
26
125
146
27
120
23
71
26
22
104
109
9
119
23
72
12
70
110
12
28
138
70
8
124
81
22
140
103
12
72
79
115
188
136
145
68
111
FIT
1:1
100%

Артикул

Название

Примечание

Количество

8

KRJ4336

HYDRAULIC HOSE,9.50 mm ID x 2200.00 mm

See Figure 08-25

2шт.

9

168025A1

HYDRAULIC HOSE,9.50 mm ID x 1950.00 mm

See Figure 08-25

2шт.

12

162826A1

ADAPTER

4шт.

22

KHJ1345

HYDRAULIC HOSE,9.52 mm ID x 2150.00 mm

See Figure 08-25

2шт.

23

168025A1

HYDRAULIC HOSE,9.50 mm ID x 1950.00 mm

See Figure 08-25

2шт.

26

152747A1

ADAPTER

2шт.

27

154467A1

O-RING,10.8mm ID x 2.4mm Width

1шт.

28

162826A1

ADAPTER

2шт.

68

150071A1

MOUNTING CLIP

1шт.

69

KTJ2107

BRACKET

1шт.

70

166352A1

BOLT

3шт.

71

KTJ2108

COVER

1шт.

72

166052A1

BOLT

4шт.

75

KHJ2184

VALVE

See Figure 08-33, 08-88

1шт.

79

KHJ1306

HYDRAULIC HOSE,9.52 mm ID x 550.00 mm

See Figure 08-33

1шт.

80

167871A1

HYDRAULIC HOSE,19.00 mm ID x 700.00 mm

See Figure 08-33

1шт.

81

KHJ1306

HYDRAULIC HOSE,9.52 mm ID x 550.00 mm

See Figure 08-33

1шт.

82

167871A1

HYDRAULIC HOSE,19.00 mm ID x 700.00 mm

See Figure 08-33

1шт.

103

150496A1

MOUNTING CLIP

1шт.

104

KTJ2242

VALVE, CUSHION

See Figure 08-33, 08-90, If Used

1шт.

104a

KTJ11150

VALVE PRESSURE RELIE

See Figure 08-33, 08-90A, If Used

1шт.

109

KHJ17120

VALVE SECTION

; Replaces KHJ1973

1шт.

110

827-8045

BOLT,Hex, M8 x 1.25 x 45mm, Cl 10.9

2шт.

111

153081A1

WASHER

2шт.

112

KTJ10020

BRACKET

1шт.

113

166052A1

BOLT

2шт.

114

KTJ2109

BRACKET

1шт.

115

166052A1

BOLT

2шт.

119

152747A1

ADAPTER

Incl. 120

1шт.

120

154467A1

O-RING,10.8mm ID x 2.4mm Width

1шт.

124

157969A1

HOSE

See Figure 08-40

1шт.

125

157967A1

HOSE

See Figure 08-40

1шт.

136

152747A1

ADAPTER

Incl. 137

1шт.

137

154467A1

O-RING,10.8mm ID x 2.4mm Width

1шт.

138

KHJ1974

TEE

Incl. 139

1шт.

139

154467A1

O-RING,10.8mm ID x 2.4mm Width

1шт.

140

163814A1

ELBOW

1шт.

145

KMJ1829

HOSE

See Figure 08-40

1шт.

146

159231A1

HYDRAULIC HOSE

See Figure 08-40

1шт.

147

162193A1

HOSE ASSY.

1шт.

188

159036A1

CLAMP

1шт.

189

166350A1

BOLT

2шт.

Выбрано товаров: 42