Запчасти Case CX460 (08-41) - PILOT CONTROL LINES, CONTROL VALVE - MODELS WITH LOAD HOLD & CONTROL SELECTOR VALVE (08) - HYDRAULICS

Схема запчастей Case CX460 - (08-41) - PILOT CONTROL LINES, CONTROL VALVE - MODELS WITH LOAD HOLD & CONTROL SELECTOR VALVE (08) - HYDRAULICS
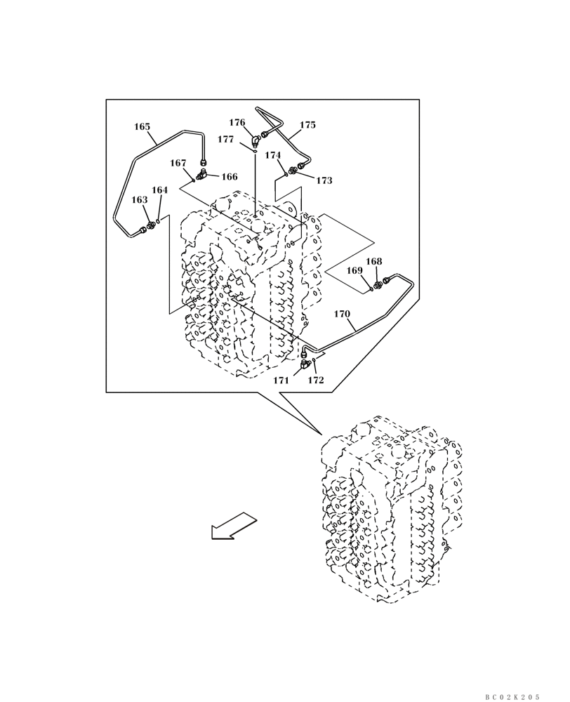
173
174
166
177
167
165
171
170
163
169
176
172
164
175
bc02k205
168
FIT
1:1
100%

Артикул

Название

Примечание

Количество

163

KHJ1821

NIPPLE, LUBE

NIPPLE Incl. 164

1шт.

164

154475A1

O-RING

1шт.

165

KTJ2117

HYD TUBE,6 mm ID x 8 mm OD

1шт.

166

KHJ1391

COUPLING

Incl. 167

1шт.

167

154467A1

O-RING,10.8mm ID x 2.4mm Width

1шт.

168

KHJ1821

NIPPLE, LUBE

NIPPLE Incl. 169

1шт.

169

154475A1

O-RING

1шт.

170

KTJ2118

HYD TUBE,6 mm ID x 8 mm OD

1шт.

171

KHJ1391

COUPLING

Incl. 172

1шт.

172

154467A1

O-RING,10.8mm ID x 2.4mm Width

1шт.

173

KHJ1821

NIPPLE, LUBE

NIPPLE Incl. 174; No Longer Used, Replaced By 153105A1 Plug, Ref. 173A

1шт.

173a

153105A1

PLUG

Incl. 174; Not Illustrated

1шт.

174

154475A1

O-RING

1шт.

175

KTJ2119

TUBE ASSY.

No Longer Used, Replaced By 157838A1 Hose, Ref 178

1шт.

176

KHJ1391

COUPLING

Incl. 177; No Longer Used; Replaced By 150913A1 Elbow, Ref 176A

1шт.

176a

150913A1

ELBOW,90 Degree, 1/4" O-Ring x 1/4"

Incl. 177; Not Illustrated

1шт.

177

154467A1

O-RING,10.8mm ID x 2.4mm Width

1шт.

178

157838A1

HOSE,6.5 mm ID x 3500.00 mm

Not Illustrated

1шт.

200

163814A1

ELBOW

Not Illustrated

1шт.

Выбрано товаров: 19