Запчасти Case CX460 (08-43) - VALVE, SOLENOID - PILOT PRESSURE, RETURN LINES (08) - HYDRAULICS

Схема запчастей Case CX460 - (08-43) - VALVE, SOLENOID - PILOT PRESSURE, RETURN LINES (08) - HYDRAULICS
21
23
26
27
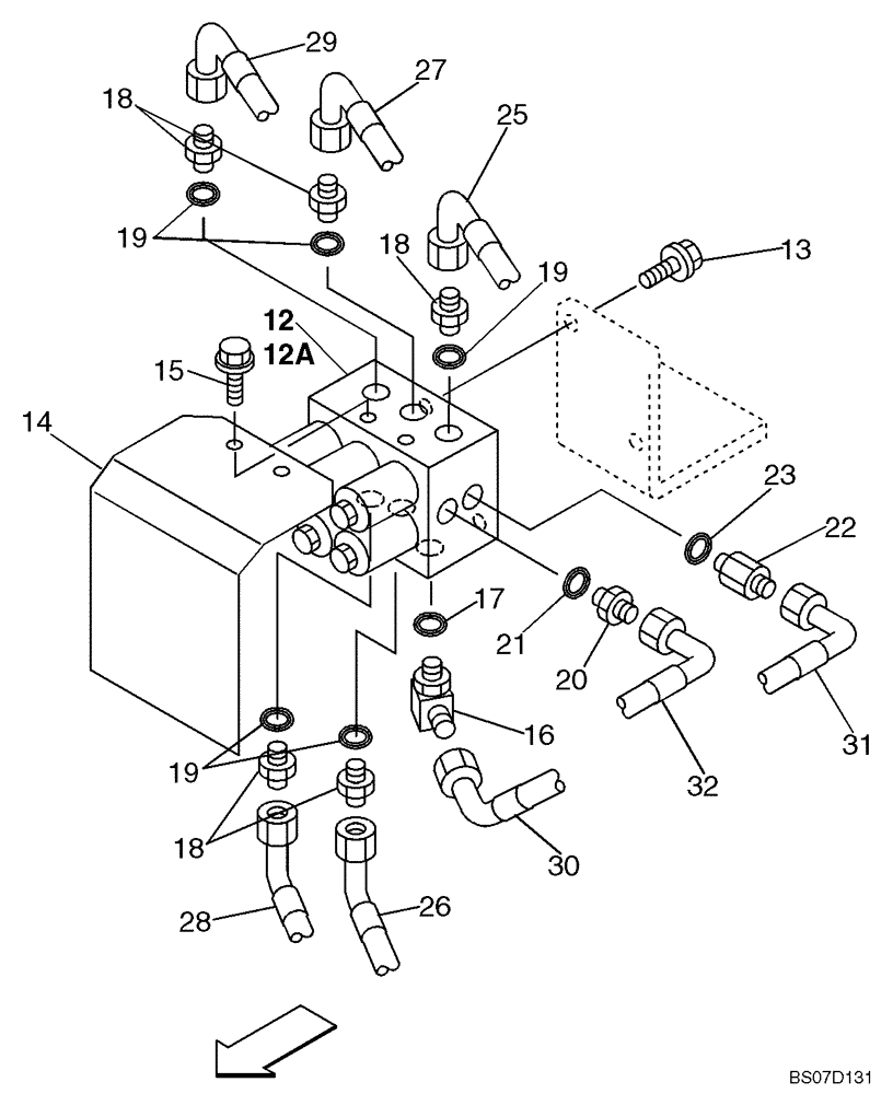
12
19
25
13
16
18
32
30
12a
29
31
28
15
19
19
14
18
18
22
17
20
FIT
1:1
100%

Артикул

Название

Примечание

Количество

12

KHJ1972

SOLENOID VALVE

See Figure 08-91; No Longer Available, Order KHJ15460

1шт.

12a

KHJ15460

SOLENOID VALVE

See Figure 08-91A

1шт.

13

166351A1

BOLT,Sems, M10 x 20mm

2шт.

14

KHJ1581

COVER

1шт.

15

156559A1

BOLT,High Strength, Hex, M6 x 12mm, W/ LW

2шт.

16

150916A1

ELBOW,90 Degree, 3/8" O-Ring x 3/8"

Incl. 17

1шт.

17

154475A1

O-RING

1шт.

18

152127A1

HYD CONNECTOR,1/4" NPT O-Ring x 1/4" NPT

Incl. 19

5шт.

19

154467A1

O-RING,10.8mm ID x 2.4mm Width

1шт.

20

152128A1

HYD CONNECTOR,3/8" NPT O-Ring x 3/8" NPT

Incl. 21

1шт.

21

154475A1

O-RING

1шт.

22

159226A1

ADAPTER

Incl. 23

1шт.

23

154475A1

O-RING

1шт.

25

KBJ2640

HOSE

See Figure 08-45

1шт.

26

KBJ2640

HOSE

See Figure 08-45

1шт.

27

KAJ3398

HYDRAULIC HOSE

See Figure 08-45

1шт.

28

162558A1

HOSE

See Figure 08-45

1шт.

29

KHJ2281

HOSE

See Figure 08-45

1шт.

30

KMJ2204

HOSE

See Figure 08-44

1шт.

31

161174A1

HOSE ASSY.

See Figure 08-45

1шт.

32

162486A1

HOSE ASSY.

See Figure 08-45

1шт.

Выбрано товаров: 21