Запчасти Case CX460 (08-68) - PUMP ASSY, HYDRAULIC - REGULATOR (08) - HYDRAULICS

Схема запчастей Case CX460 - (08-68) - PUMP ASSY, HYDRAULIC - REGULATOR (08) - HYDRAULICS
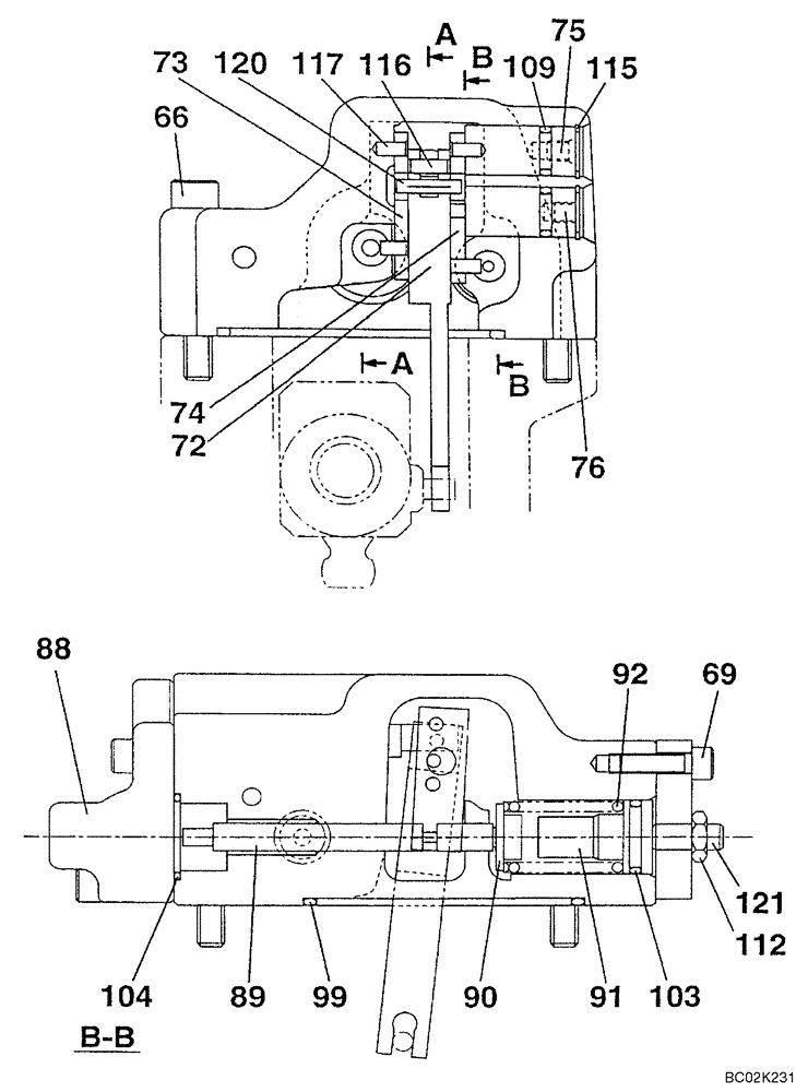
75
109
74
76
88
89
120
112
90
91
92
115
116
99
72
73
69
103
121
104
117
66
FIT
1:1
100%

Артикул

Название

Примечание

Количество

KTJ2030

HYDRAULIC PUMP

Incl. 66 - 121; Also Includes Parts on Figure(s) 08-65 - 08-67, 08-69, 08-70

1шт.

87341989

REMAN-HYD PUMP

Remanufactured, HYDRAULIC PUMP, For N.A. Only

1шт.

87341991

CORE-HYDRAULIC PUMP

Return Number, N.A. Only

1шт.

LL00094

VOLTAGE REGULATOR

Incl. 66 - 121; Also Includes Parts on Figure 08-67

1шт.

66

108R008Z050N

BOLT

2шт.

69

862-6020

HEX SOC SCREW,M6 x 20mm, Cl 12.9

10шт.

72

NSS

NOT SOLD SEPARAT

Lever

1шт.

73

NSS

NOT SOLD SEPARAT

Lever

1шт.

74

NSS

NOT SOLD SEPARAT

Lever

1шт.

75

NSS

NOT SOLD SEPARAT

Plug

1шт.

76

NSS

NOT SOLD SEPARAT

Plug

1шт.

88

NSS

NOT SOLD SEPARAT

Cover

1шт.

89

NSS

NOT SOLD SEPARAT

Piston

1шт.

90

NSS

NOT SOLD SEPARAT

Seat, Spring

1шт.

91

NSS

NOT SOLD SEPARAT

Pin

1шт.

92

NSS

NOT SOLD SEPARAT

Spring

1шт.

99

154681A1

O-RING

1шт.

103

154487A1

O-RING

1шт.

104

154499A1

O-RING

1шт.

109

154467A1

O-RING,10.8mm ID x 2.4mm Width

1шт.

112

LA00065

JAM NUT

2шт.

115

800-2115

SNAP RING,M15, Int

2шт.

116

NSS

NOT SOLD SEPARAT

Pin

1шт.

117

NSS

NOT SOLD SEPARAT

Pin

4шт.

119

NSS

NOT SOLD SEPARAT

Pin; Not Illustrated

1шт.

120

NSS

NOT SOLD SEPARAT

Pin

1шт.

121

LA00759

BOLT,Hex Skt Hd

1шт.

Выбрано товаров: 27