Запчасти Case CX460 (08-74) - HYDRAULICS - JOINT, SWIVEL CENTER (P.I.N. DAC0746101 - DAC0746133) (08) - HYDRAULICS

Схема запчастей Case CX460 - (08-74) - HYDRAULICS - JOINT, SWIVEL CENTER (P.I.N. DAC0746101 - DAC0746133) (08) - HYDRAULICS
5
13
12
8
7
15
11
21
20
4
18
19
10
1
16
17
2
6
9
14
3
FIT
1:1
100%

Артикул

Название

Примечание

Количество

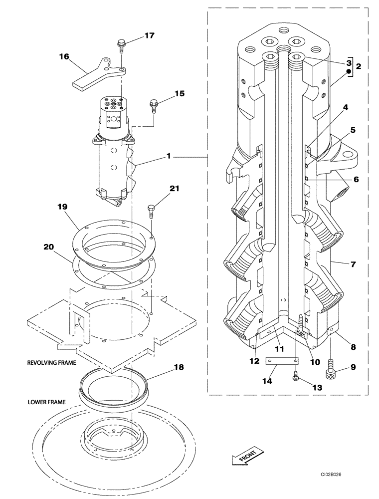
1

KSA1136

JOINT TURNING

Incl. 2 - 14; No Longer Available, For Service Order KSA1305, See Figure 08-74A

1шт.

1

KSA1305R

REMAN-HYDRAULIC SWIV

CX460 CRAWLER EXCAVATOR (NORTH AMERICA), SWIVEL CENTER (P.I.N. DAC0746101 - DAC0746133), Reman for New PN KSA1136

1шт.

1

KSA1305C

CORE-HYDRAULIC SWIV

Return Number

1шт.

2

KSA1137

ROTOR

Incl. 3

1шт.

3

150829A1

PLUG

4шт.

4

KTA1092

SHAFT SEAL

1шт.

5

KHA10120

O-RING

Replaces 154712A1

1шт.

6

KTA1093

SEALING RING

SEALRING

6шт.

7

KTA1094

VALVE BODY

1шт.

8

KTA1095

COVER

1шт.

9

108R010Y030N

BOLT

4шт.

10

861-8020

HEX SOC SCREW,M8 x 20mm, Cl 12.9

4шт.

11

KTA1096

PLATE

Thrust

1шт.

12

154761A1

O-RING,119.4mm ID x 3.1mm Width

1шт.

13

NSS

NOT SOLD SEPARAT

Screw

2шт.

14

NSS

NOT SOLD SEPARAT

Plate

1шт.

15

166352A1

BOLT

3шт.

16

KTA1150

STOP LOCK

1шт.

17

166373A1

BOLT,Sems, M16 x 40mm

3шт.

18

151009A1

SEALING RING

1шт.

19

152635A1

RETAINER

1шт.

20

152596A1

RUBBER SEAL

1шт.

21

627-12020

BOLT,Hex, M12 x 1.75 x 20mm, Cl 10.9, Full Thd

6шт.

Выбрано товаров: 23