Запчасти Case CX460 (08-78B) - KTJ10071 VALVE ASSY, CONTROL (DAC0746159 - ) (08) - HYDRAULICS

Схема запчастей Case CX460 - (08-78B) - KTJ10071 VALVE ASSY, CONTROL (DAC0746159 - ) (08) - HYDRAULICS
12
10
112
113
6
112
13
13
114
112
113
14
3
130
117
1
14
11
9
130
13
114
14
4
7
128
114
114
113
116
12
6
2
129
114
5
8
14
128
131
131
12
FIT
1:1
100%

Артикул

Название

Примечание

Количество

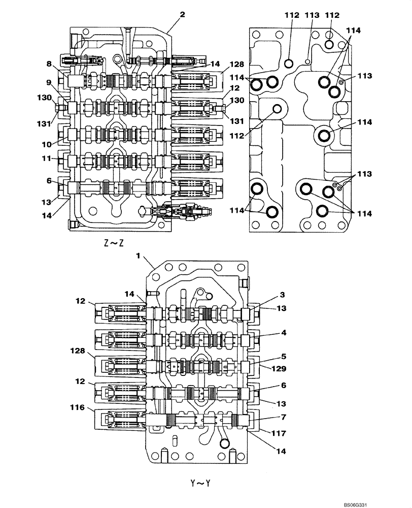
KTJ10071

CONTROL VALVE

Incl. 1 - 131; Also Includes Parts on Figure(s) 08-77B, 08-79B, 08-80B, 08-81B, Replaces KTJ10070

1шт.

1

NSS

NOT SOLD SEPARAT

Housing

1шт.

2

NSS

NOT SOLD SEPARAT

Housing

1шт.

3

NSS

NOT SOLD SEPARAT

Spool, Valve

1шт.

4

NSS

NOT SOLD SEPARAT

Spool, Valve

1шт.

5

NSS

NOT SOLD SEPARAT

Spool, Valve

1шт.

6

NSS

NOT SOLD SEPARAT

Spool, Valve

2шт.

7

NSS

NOT SOLD SEPARAT

Spool, Valve

1шт.

8

NSS

NOT SOLD SEPARAT

Spool, Valve

1шт.

9

NSS

NOT SOLD SEPARAT

Spool, Valve

1шт.

10

NSS

NOT SOLD SEPARAT

Spool, Valve

1шт.

11

NSS

NOT SOLD SEPARAT

Spool, Valve

1шт.

12

LR00880

CAP

7шт.

13

LR00881

CAP

8шт.

14

154623A1

O-RING

20шт.

112

154501A1

O-RING

3шт.

113

154465A1

O-RING

6шт.

114

154532A1

O-RING

10шт.

116

LR00883

CAP

1шт.

117

LR00884

CAP

1шт.

128

LR00886

CAP

2шт.

129

LR00887

CAP

1шт.

130

LK00399

PLUG

Incl. 131

2шт.

131

154475A1

O-RING

1шт.

Выбрано товаров: 24