Запчасти Case CX460 (08-79A) - KTJ2471 VALVE ASSY, CONTROL (DAC0746101 - DAC0746158) (08) - HYDRAULICS

Схема запчастей Case CX460 - (08-79A) - KTJ2471 VALVE ASSY, CONTROL (DAC0746101 - DAC0746158) (08) - HYDRAULICS
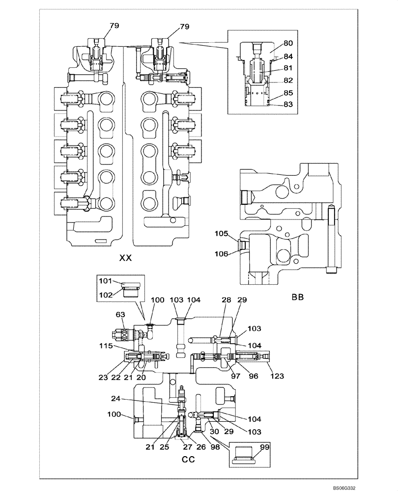
115
80
103
83
79
103
28
22
26
23
24
29
84
97
20
82
104
27
29
96
79
30
99
81
85
98
25
102
100
21
100
103
21
105
123
104
101
63
106
104
FIT
1:1
100%

Артикул

Название

Примечание

Количество

KTJ2471

CONTROL VALVE

Incl. 20 - 123; Also Includes Parts on Figure(s) 08-77A, 08-78A, 08-80A, 08-81A

1шт.

20

NSS

NOT SOLD SEPARAT

Spool, Valve

1шт.

21

163393A1

SPRING SEAT

2шт.

22

LG005500

SPRING COMPRESSOR

1шт.

23

LK00396

PLUG

1шт.

24

NSS

NOT SOLD SEPARAT

Spool, Valve

1шт.

25

LG00442

SPRING COMPRESSOR

1шт.

26

155224A1

O-RING

1шт.

27

163366A1

PLUG

1шт.

28

LJ00976

POPPET

2шт.

29

LG00417

COMPRESSION SPRING

3шт.

30

LJ013200

POPPET

1шт.

63

164457A1

VALVE

ASSEMBLY - relief

1шт.

79

LJ00983

VALVE, PRESSURE RELI

EF Incl. 80- 85

2шт.

80

NSS

NOT SOLD SEPARAT

Plug

1шт.

81

NSS

NOT SOLD SEPARAT

Spring

1шт.

82

NSS

NOT SOLD SEPARAT

Poppet

1шт.

83

NSS

NOT SOLD SEPARAT

Sleeve

1шт.

84

168801A1

O-RING

1шт.

85

154528A1

O-RING

1шт.

96

154517A1

O-RING

2шт.

97

NSS

NOT SOLD SEPARAT

Spool

1шт.

98

163369A1

PLUG

Incl. 99

1шт.

99

154475A1

O-RING

1шт.

100

163972A1

PLUG

Incl. 101, 102

2шт.

101

NSS

NOT SOLD SEPARAT

Plug

1шт.

102

154467A1

O-RING,10.8mm ID x 2.4mm Width

1шт.

103

163370A1

PLUG

Incl. 104

3шт.

104

154487A1

O-RING

1шт.

105

163970A1

PLUG

Incl. 106

1шт.

106

154503A1

O-RING

1шт.

115

155225A1

O-RING

1шт.

123

LR00885

CAP

1шт.

Выбрано товаров: 0