Запчасти Case CX460 (08-79B) - KTJ10071 VALVE ASSY, CONTROL (DAC0746159 - ) (08) - HYDRAULICS

Схема запчастей Case CX460 - (08-79B) - KTJ10071 VALVE ASSY, CONTROL (DAC0746159 - ) (08) - HYDRAULICS
28
89
63
91
29
135
75
24
95
90
71
96
95
29
27
77
94
23
71
98
92
20
115
95
25
76
72
94
21
88
96
21
96
22
74
97
73
123
93
30
93
26
FIT
1:1
100%

Артикул

Название

Примечание

Количество

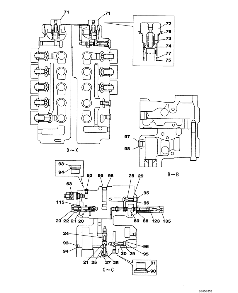
KTJ10071

CONTROL VALVE

Incl. 20 - 135; Also Includes Parts on Figure(s) 08-77B, 08-78B, 08-80B, 08-81B, Replaces KTJ10070

1шт.

20

NSS

NOT SOLD SEPARAT

Spool, Valve

1шт.

21

163393A1

SPRING SEAT

2шт.

22

LG005500

SPRING COMPRESSOR

1шт.

23

LK00396

PLUG

1шт.

24

NSS

NOT SOLD SEPARAT

Spool, Valve

1шт.

25

LG00442

SPRING COMPRESSOR

1шт.

26

155224A1

O-RING

1шт.

27

163366A1

PLUG

1шт.

28

LJ00976

POPPET

2шт.

29

LG00417

COMPRESSION SPRING

3шт.

30

LJ013200

POPPET

1шт.

63

164457A1

VALVE

ASSEMBLY - relief, See Figure 08-80B

1шт.

71

LJ00983

VALVE, PRESSURE RELI

EF Incl. 72 - 77

2шт.

72

NSS

NOT SOLD SEPARAT

Plug

1шт.

73

NSS

NOT SOLD SEPARAT

Spring

1шт.

74

NSS

NOT SOLD SEPARAT

Poppet

1шт.

75

NSS

NOT SOLD SEPARAT

Sleeve

1шт.

76

168801A1

O-RING

1шт.

77

154528A1

O-RING

1шт.

88

154517A1

O-RING

2шт.

89

NSS

NOT SOLD SEPARAT

Spool, Valve

1шт.

90

163369A1

PLUG

Incl. 91

1шт.

91

154475A1

O-RING

1шт.

92

163972A1

PLUG

Incl. 93, 94

2шт.

93

NSS

NOT SOLD SEPARAT

Plug

1шт.

94

154467A1

O-RING,10.8mm ID x 2.4mm Width

1шт.

95

163370A1

PLUG

Incl. 96

3шт.

96

154487A1

O-RING

1шт.

97

163970A1

PLUG

Incl. 98

1шт.

98

154503A1

O-RING

1шт.

115

155225A1

O-RING

1шт.

123

LR012890

CAP

1шт.

135

LK005110

PLUG

1шт.

Выбрано товаров: 34