Запчасти Case CX460 (08-81B) - KTJ10071 VALVE ASSY, CONTROL (DAC0746159 - ) (08) - HYDRAULICS

Схема запчастей Case CX460 - (08-81B) - KTJ10071 VALVE ASSY, CONTROL (DAC0746159 - ) (08) - HYDRAULICS
15
19
133
78
79
62
59
98
56
60
80
95
98
61
16
118
34
35
82
81
33
96
63
32
87
33
85
53
18
57
31
58
17
84
16
55
34
97
18
86
54
35
17
83
15
19
87
97
FIT
1:1
100%

Артикул

Название

Примечание

Количество

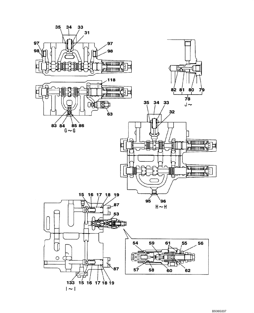
KTJ10071

CONTROL VALVE

Incl. 15 - 133; Also Includes Parts on Figure(s) 08-77B, 08-78B, 08-79B, 08-80B, Replaces KTJ10070

1шт.

15

LJ00727

VALVE POPPET

2шт.

16

LG00341

SPRING

2шт.

17

LH00251

SPACER

2шт.

18

154507A1

O-RING

2шт.

19

153987A1

BACK-UP RING

2шт.

31

LJ00978

POPPET

1шт.

32

LJ00979

POPPET

1шт.

33

164497A1

SPRING

2шт.

34

LH004510

FLANGE

2шт.

35

154575A1

O-RING

2шт.

53

LJ00981

VALVE, PRESSURE RELI

EF Incl. 54 - 62

1шт.

54

LBQ7916

O-RING

1шт.

55

155222A1

O-RING

1шт.

56

159985A1

BACK-UP RING

1шт.

57

154497A1

O-RING

1шт.

58

153976A1

BACK-UP RING

1шт.

59

154470A1

O-RING

1шт.

60

LBQ7916

O-RING

1шт.

61

154538A1

O-RING

2шт.

62

154462A1

O-RING

1шт.

63

164457A1

VALVE

ASSEMBLY - relief, Incl. Figure 08-80B

1шт.

78

LK00303

PLUG

Incl. 79 - 82

1шт.

79

LK00322

PLUG

1шт.

80

154487A1

O-RING

1шт.

81

155087A1

O-RING

1шт.

82

154458A1

O-RING

1шт.

83

LJ00984

POPPET

1шт.

84

156026A1

SPRING

1шт.

85

155464A1

PLUG

1шт.

86

155222A1

O-RING

1шт.

87

LH00250

CAP

3шт.

95

163370A1

PLUG

Incl. 96

1шт.

96

154487A1

O-RING

1шт.

97

163970A1

PLUG

Incl. 98

2шт.

98

154503A1

O-RING

2шт.

118

NSS

NOT SOLD SEPARAT

Ball

1шт.

133

LE01003

O-RING

1шт.

Выбрано товаров: 38