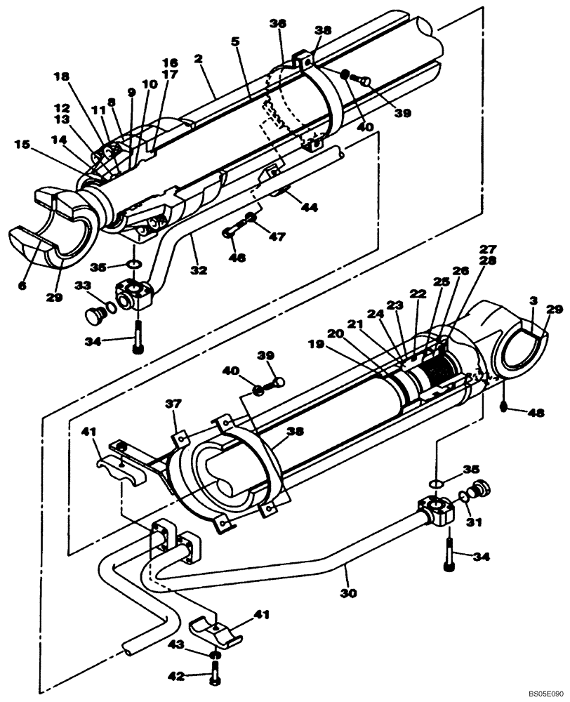
Запчасти Case CX460 (08-95C) - CYLINDER ASSY, BOOM, LEFT HAND - MODELS WITHOUT LOAD HOLD (08) - HYDRAULICS

Схема запчастей Case CX460 - (08-95C) - CYLINDER ASSY, BOOM, LEFT HAND - MODELS WITHOUT LOAD HOLD (08) - HYDRAULICS
16
34
35
30
43
10
9
20
14
29
5
17
38
35
37
24
32
28
3
38
19
46
42
33
25
48
26
13
22
44
18
6
8
36
27
40
15
39
2
34
23
12
29
47
21
31
40
39
41
41
11
FIT
1:1
100%

Артикул

Название

Примечание

Количество

KTV1468

CYLINDER ASSY.

Boom, Left Hand, Models Without Load Hold, Incl. 1 - 46

1шт.

LR01017

HYD CYL SLEEVE

Incl. 2, 3

1шт.

2

NSS

NOT SOLD SEPARAT

Tube

1шт.

3

LB00826

BUSHING

1шт.

LB00952

PISTON ROD

Incl. 5, 6

1шт.

5

NSS

NOT SOLD SEPARAT

Rod

1шт.

6

LB00905

BEARING

1шт.

8

LU00124

CYLINDER END CAP

1шт.

9

LB00669

BACK-UP RING

1шт.

10

LMU0072

RING

1шт.

11

LE00890

RING

1шт.

12

LE00891

WIPER SEAL

1шт.

13

LE00892

BACK-UP RING

1шт.

14

LE00893

GUIDE RING

1шт.

15

LE015190

WIPER SEAL

Replaces LE00894

1шт.

16

154829A1

O-RING

1шт.

17

LBU0093

BACK-UP RING

1шт.

18

862-27090

HEX SOC SCREW,M27 x 90mm, Cl 12.9

8шт.

19

LE00895

BACK-UP RING

1шт.

20

LE00896

SEALING RING

SEALRING

1шт.

21

LJ00859

JACK PISTON

1шт.

22

LEU0096

SEALING RING

1шт.

23

LE00897

GUIDE RING

2шт.

24

LEU0098

RING

2шт.

25

165746A1

SHIM

1шт.

26

LA00908

SPECIAL NUT

1шт.

27

155981A1

BALL

1шт.

28

156228A1

SET SCREW

1шт.

29

LE01054

OIL SCRAPER RING

4шт.

30

LR00706

HYD TUBE

Incl. 31

1шт.

31

154523A1

O-RING

1шт.

32

LR00707

HYD TUBE

Incl. 33

1шт.

33

154523A1

O-RING

1шт.

34

160301A1

BOLT

8шт.

35

154543A1

O-RING

2шт.

36

LD00068

CLAMP BRACKET

1шт.

37

LD00069

CLAMP BRACKET

1шт.

38

LZU0074

CLAMP BRACKET

2шт.

39

158131A1

BOLT,High Strength, M10 x 1.5 x 35mm, Cl 10.9

4шт.

40

156227A1

WASHER

4шт.

41

155709A1

COLLAR

2шт.

42

102R014S090N

BOLT

1шт.

43

892-16014

LOCK WASHER,M14, Hvy

1шт.

44

155716A1

COLLAR

1шт.

46

164114A1

BOLT

1шт.

47

892-10012

LOCK WASHER,M12

1шт.

48

153630A1

LUBE NIPPLE

1шт.

LZ00440

SEAL KIT

Incl. 11 - 13, 15 - 17, 20, 22 - 24

1шт.

Выбрано товаров: 48