Запчасти Case CX460 (08-96) - CYLINDER ASSY, ARM - MODELS WITH LOAD HOLD (08) - HYDRAULICS

Схема запчастей Case CX460 - (08-96) - CYLINDER ASSY, ARM - MODELS WITH LOAD HOLD (08) - HYDRAULICS
31
8
9
25
12
20
37
42
11
34
41
18
37
44
36
24
19
39
21
30a
28
38
14
29
10
22
35
38
26
37
33
23
39
6
32
36
29
45
30
27
15
2
5
35
16
13
17
3
40
FIT
1:1
100%

Артикул

Название

Примечание

Количество

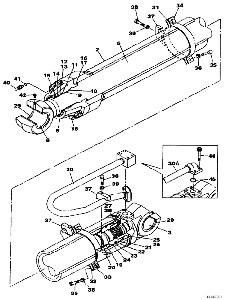
KTV1462

HYDRAULIC CYLINDER

Boom, Right Hand, Models With Load Hold, Incl. 1 - 46

1шт.

LR01020

HYD CYL SLEEVE

Incl. 2, 3

1шт.

2

NSS

NOT SOLD SEPARAT

Tube

1шт.

3

LB00828

BUSHING

1шт.

LB00945

PISTON ROD

Incl. 5, 6

1шт.

5

NSS

NOT SOLD SEPARAT

Rod

1шт.

6

LB00828

BUSHING

1шт.

8

LU00167

HEAD ASSY.

1шт.

9

LA00624

LOCKING RING

1шт.

10

LMU0120

RING

1шт.

11

LE015210

OIL SCRAPER RING

Replaces LE01006

1шт.

12

LE00485

WIPER SEAL

Replaces LE00632

1шт.

13

LE00633

BACK-UP RING

1шт.

14

LE00634

SEALING STRIP

1шт.

15

LE015210

OIL SCRAPER RING

Replaces LE01006

1шт.

16

154861A1

O-RING

1шт.

17

LE00636

BACK-UP RING

1шт.

18

108R030W100N

BOLT

8шт.

19

LE01007

WIPER SEAL

1шт.

20

LE01008

OIL SCRAPER RING

1шт.

21

LJ00989

PISTON

1шт.

22

LE00637

RING

1шт.

23

LE00638

SEALING STRIP

2шт.

24

LE00639

SEALING STRIP

2шт.

25

LH00214

SHIM

1шт.

26

LA00799

NUT

1шт.

27

LPU0095

BALL

1шт.

28

LUU0144

SCREW

1шт.

29

LE00948

SEAL

4шт.

30

LR00898

HYD TUBE

If Used

1шт.

30a

LR01136

HYD TUBE

Pipe, If Used

1шт.

31

LD00096

CLAMP BRACKET

1шт.

32

LD00097

CLAMP BRACKET

1шт.

33

LD00098

CLAMP BRACKET

1шт.

34

LD00099

CLAMP BRACKET

1шт.

35

158131A1

BOLT,High Strength, M10 x 1.5 x 35mm, Cl 10.9

4шт.

36

156227A1

WASHER

4шт.

37

155736A1

HALF-FLANGE

3шт.

38

153910A1

BOLT,High Strength, Hex, M14 x 80mm

3шт.

39

892-16014

LOCK WASHER,M14, Hvy

3шт.

40

LJ00624

BLEEDER

Incl. 41

1шт.

41

154467A1

O-RING,10.8mm ID x 2.4mm Width

1шт.

42

153912A1

LUBE NIPPLE,90 Degree, 1/8"-27 NPT x 21.5mm lg

1шт.

44

LA00751

BOLT,Hex Skt Hd

4шт.

45

154579A1

O-RING

1шт.

LZ00495

SEAL KIT

Kit, Cylinder Seal; Incl. 11 - 13, 15 - 17, 20, 22

1шт.

Выбрано товаров: 46