Запчасти Case CX460 (09-03) - TURNTABLE - ACCESS COVERS (09) - CHASSIS/ATTACHMENTS

Схема запчастей Case CX460 - (09-03) - TURNTABLE - ACCESS COVERS (09) - CHASSIS/ATTACHMENTS
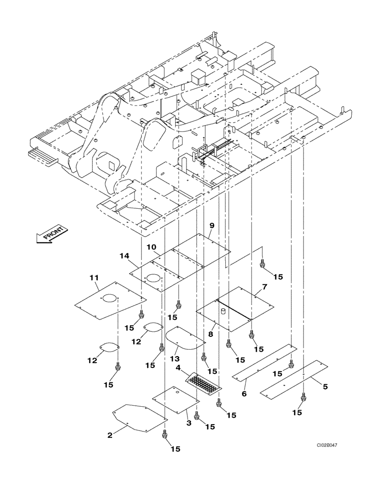
15
14
8
15
5
15
15
9
6
12
12
15
4
2
15
15
15
15
15
13
15
11
15
10
3
7
15
FIT
1:1
100%

Артикул

Название

Примечание

Количество

2

KTB0891

PAD

1шт.

3

KTB0892

PAD

1шт.

4

KTB0893

PAD

1шт.

5

KSB0877

PROTECTION PLATE

1шт.

6

KTB0894

PROTECTION PLATE

1шт.

7

KTB0895

PAD

1шт.

8

KTB0896

PAD

1шт.

9

KTB0897

PAD

1шт.

10

KTB0898

COVER

1шт.

11

KTB0899

PAD

1шт.

12

158950A1

COVER

2шт.

13

KTB0918

PAD

1шт.

14

KTB0919

PAD

1шт.

15

158919A1

CAPTIVE WASHER SCREW,Hex Wshr Hd, M12 x 1.75 x 35mm, Cl 10.9, Spcl

56шт.

Выбрано товаров: 14