Запчасти Case CX460 (02-17) - OIL FILTER (02) - ENGINE

Схема запчастей Case CX460 - (02-17) - OIL FILTER (02) - ENGINE
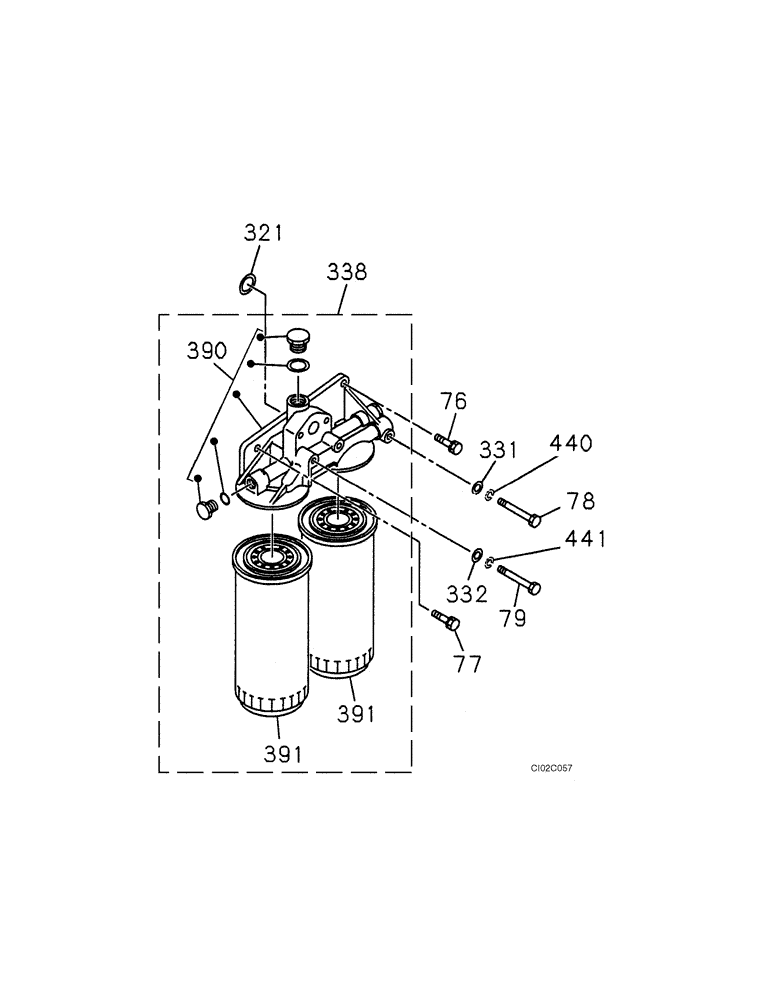
440
390
391
321
77
332
78
441
391
331
76
79
338
FIT
1:1
100%

Артикул

Название

Примечание

Количество

76

86987123

BOLT

M10 x 35

1шт.

77

86987125

BOLT

M12 x 35

1шт.

78

86987130

BOLT

1шт.

79

86987394

BOLT

2шт.

321

288583A1

GASKET

1шт.

331

289788A1

WASHER

1шт.

332

289787A1

WASHER

M8

2шт.

338

86987251

FILTER ASSY

Incl. 76 - 79, 331, 332, 390, 391

1шт.

390

86987254

BODY

1шт.

391

86987694

ENGINE OIL FILTER

2шт.

440

289783A1

LOCK WASHER

1шт.

441

289782A1

LOCK WASHER

W8

2шт.

Выбрано товаров: 12