Качественные детали и логистика
Оригинальные и аналоговые запчасти с доставкой по России, Казахстану и Беларуси
©2022 PartSell ООО "Система" ИНН 2463123282 ОГРН 1212400004838
Центральный офис: г. Красноярск, Академика Киренского, д.87, пом.4
Телефон: 8 (800) 777-65-74 Email: zakaz@partsell.ru
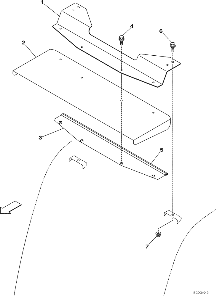
(09-39) - RAIN DEFLECTOR
№
Артикул
Название
Примечание
Количество
1
KHN2898
BRACKET
1шт.
2
KHN2899
DEFLECTOR
3
KHN2900
HOLDER
4
627-8020
BOLT,Hex, M8 x 1.25 x 20mm, Cl 10.9, Full Thd
4шт.
896-15008
WASHER,9mm ID x 21mm OD x 2.5mm Thk
5
KHN2901
RUBBER STRIP
6
627-12030
BOLT,Hex, M12 x 1.75 x 30mm, Cl 10.9, Full Thd
2шт.
896-11012
WASHER,13.5mm ID x 24mm OD x 3mm Thk
7
150475A1
FLANGE NUT
Выбрано товаров: 0