Запчасти Case CX460 (02-19) - CYLINDER HEAD (02) - ENGINE

Схема запчастей Case CX460 - (02-19) - CYLINDER HEAD (02) - ENGINE
121
3a
8
103
98
12
22
6
97
98
144
104
5a
41
120
140
11
3b
1
123
22
2
143
7
138
10
96
168
56
15
5b
4
6
23
6
14
7
97
9
97
122
98
139
97
97
153
FIT
1:1
100%

Артикул

Название

Примечание

Количество

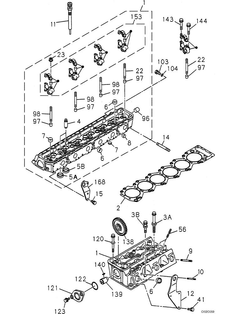
1

86987100

HEAD (CYLINDER)

Incl. 4 - 8, 22, 23, 96 - 98, 153

1шт.

2

86987179

GASKET

1шт.

3a

86987132

BOLT

M14 x 125

20шт.

3b

86987133

BOLT

M14 x 67

6шт.

4

86987199

GUIDE

12шт.

5a

86987198

SEAT

Intake

6шт.

5b

86987197

SEAT

Exhaust

6шт.

6

362152A1

CUP

dia 32

14шт.

7

368501A1

CUP

dia 22

11шт.

8

289414A1

CUP

dia 12,3

6шт.

9

86987436

STUD

M8 x 161

1шт.

10

289816A1

STUD

M8 x 99

4шт.

11

288874A1

GLOW PLUG

6шт.

12

86987205

HANGER

1шт.

14

86987141

STUD

M10 x 119

12шт.

15

289003A1

BOLT

M10 x 20; 10,9

2шт.

22

86987140

STUD

M8 x 142

2шт.

23

86987437

FLANGE NUT

M8

8шт.

41

289031A1

BOLT

3шт.

56

289060A1

STUD

M8 x 58

12шт.

96

86987227

BUSHING

1шт.

97

86987185

PIN

8шт.

98

86987139

STUD

M8 x 132

6шт.

103

289998A1

PLUG

M14 x 9

1шт.

104

289810A1

PACKING

1шт.

120

86987136

BOLT

M10 x 122

2шт.

120

86987134

BOLT

M10 x 34

1шт.

121

86987189

COVER

1шт.

122

86987153

GASKET

1шт.

123

86987121

BOLT

M8 x 20

2шт.

138

86987223

GEAR

1шт.

139

86987229

SHAFT

1шт.

140

86987420

KEY

1шт.

143

86987116

BOLT

M8 x 60

1шт.

144

86987113

BOLT

M8 x 100

1шт.

153

86987219

SET OF PARTS

1шт.

168

86987206

HANGER

1шт.

Выбрано товаров: 37