Запчасти Case CX460 (02-20) - CAMSHAFT - VALVE MECHANISM (02) - ENGINE

Схема запчастей Case CX460 - (02-20) - CAMSHAFT - VALVE MECHANISM (02) - ENGINE
112
107
53
71a
70b
112
65
78
113
71b
95
81
83
92
12
8
75
101
72
76
69a
72
108
65
5
65
4
65
107
69b
103
71a
111
1
7
10
95
102
71b
83
101
70a
81
99
78
78
FIT
1:1
100%

Артикул

Название

Примечание

Количество

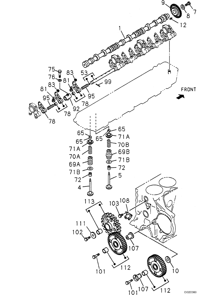
1

86987218

CAMSHAFT

1шт.

4

86987232

VALVE

6шт.

5

86987233

VALVE

6шт.

7

289993A1

BOLT

M14 x 28

1шт.

8

289838A1

WASHER

1шт.

9

86987222

GEAR

1шт.

10

86987231

PLATE

1шт.

12

288612A1

KEY

1шт.

53

86987243

SHAFT

1шт.

65

288619A1

SPLIT COLLAR

24шт.

69a

86987234

SPRING

Intake

6шт.

69b

86987235

SPRING

Exhaust

6шт.

70a

86987237

SPRING

Intake

6шт.

70b

86987236

SPRING

Exhaust

6шт.

71a

86987238

SEAT

12шт.

71b

86987442

SEAT

12шт.

72

86987240

SEAL

12шт.

75

86987412

BOLT

3шт.

76

289835A1

WASHER

3шт.

78

86987241

ARM

12шт.

81

86987242

SCREW

12шт.

83

438187A1

NUT

12шт.

92

86987244

BRACKET

3шт.

95

289073A1

SPRING

6шт.

99

86987421

PIN

2шт.

101

86987138

BOLT

M12 x 57

1шт.

102

86987127

BOLT

M14 x 16

1шт.

103

437844A1

FLANGE BOLT

M8 x 14

3шт.

107

86987230

SHAFT

1шт.

108

86987228

SHAFT

1шт.

111

87458149

WASHER

Replaces 438030A1

1шт.

112

86987224

GEAR

1шт.

113

86987225

GEAR

1шт.

Выбрано товаров: 33