Запчасти Case CX460 (05-10) - TRACK - ROLLER, UPPER (11) - TRACKS/STEERING

Схема запчастей Case CX460 - (05-10) - TRACK - ROLLER, UPPER (11) - TRACKS/STEERING
15
6
10
5
1
3
8
4
7
12
14
11
9
13
5
2
FIT
1:1
100%

Артикул

Название

Примечание

Количество

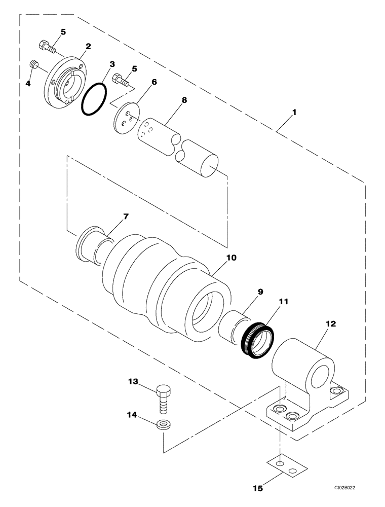
1

KSA1145

ROLLER ASSY.

Incl. 2 - 12

4-6шт.

2

KTA1149

COVER

1шт.

3

166782A1

O-RING

1шт.

4

150821A1

PLUG

1шт.

5

627-10030

BOLT,Hex, M10 x 1.5 x 30mm, Cl 10.9, Full Thd

6шт.

6

166555A1

PLATE, THRUST

1шт.

7

160423A1

BUSHING,65mm ID x 87mm OD x 69mm L

1шт.

8

166556A1

PIN

1шт.

9

166557A1

BEARING

1шт.

10

KTA1104

SHIFTER ROLLER

1шт.

11

166559A1

SEAL

1шт.

12

KSA1146

CASING, BEARING ROLL

1шт.

13

167068A1

BOLT

16-24шт.

14

150817A1

WASHER,21mm ID x 40mm OD x 4.5mm Thk

16-24шт.

15

KSA1147

SHIM

1шт.

Выбрано товаров: 15