Качественные детали и логистика
Оригинальные и аналоговые запчасти с доставкой по России, Казахстану и Беларуси
©2022 PartSell ООО "Система" ИНН 2463123282 ОГРН 1212400004838
Центральный офис: г. Красноярск, Академика Киренского, д.87, пом.4
Телефон: 8 (800) 777-65-74 Email: zakaz@partsell.ru
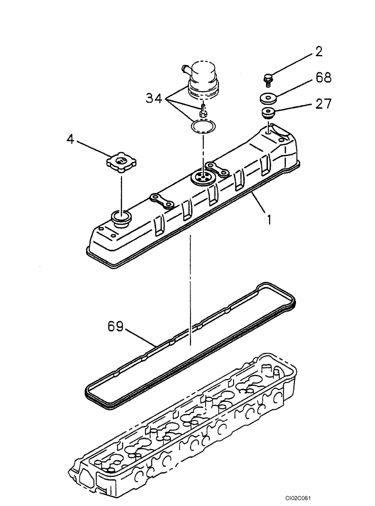
(02-21) - CYLINDER HEAD COVER
№
Артикул
Название
Примечание
Количество
1
86987180
COVER
1шт.
2
86987408
NUT
8шт.
4
86987202
CAP
27
446995A1
GASKET
34
REF
INSTRUCTION
Breather; See Figure 02-23
68
289857A1
WASHER
69
86987181
Выбрано товаров: 0