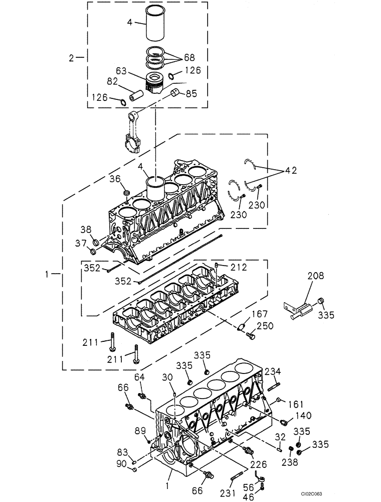
Запчасти Case CX460 (02-23) - CYLINDER BLOCK (02) - ENGINE

Схема запчастей Case CX460 - (02-23) - CYLINDER BLOCK (02) - ENGINE
140
4
238
335
64
231
32
167
36
30
335
85
63
234
208
66
66
126
89
335
90
352
42
2
335
250
211
230
46
83
1
1
38
56
4
226
82
126
335
68
352
212
161
37
230
211
FIT
1:1
100%

Артикул

Название

Примечание

Количество

1

86987099

CYLINDER BLOCK

Incl. 4, 36 - 38, 211, 212, 230

1шт.

2

86987098

SET OF PARTS

Incl. 4, 63, 68, 82, 85, 126; DCH46B0101 - DCH46B0122

6шт.

2

87448091

KIT

Incl. 4, 63, 68, 82, 85, 126; DCH46B0123 -

6шт.

4

86987186

SLEEVE CYLINDER

Grade 1X

6шт.

30

289770A1

PIN

8 OD

3шт.

32

289770A1

PIN

8 OD

2шт.

36

289076A1

CUP

dia 25

5шт.

37

86987149

EXPANSION PLUG

dia 32

2шт.

38

362148A1

CUP

dia 45

7шт.

42

86987196

WASHER

2шт.

46

86987170

BOLT

6шт.

56

86987277

JET

6шт.

63

86987207

PISTON

Grade AX; DCH46B0101 - DCH46B0122

1шт.

63

87448090

PISTON

Grade AX; DCH46B0123 -

1шт.

64

86987166

FITTING

M16 x 38

1шт.

66

86987166

FITTING

M16 x 38

1шт.

68

86987208

PISTON RING SET

1шт.

82

86987209

PIN

1шт.

83

86987422

PIN

2шт.

85

86987211

BUSHING

1шт.

89

438189A1

PLUG

2шт.

90

86987440

CUP

dia 16

1шт.

126

86987147

RING

2шт.

140

86987168

FITTING

1шт.

161

86987185

PIN

2шт.

167

86987201

COVER

1шт.

208

86987290

PIPE

See Figure 02-16

1шт.

211

86987132

BOLT

M14 x 125

14шт.

211

86987137

BOLT

M10 x 98

24шт.

212

86987175

PIN

2шт.

226

86987167

FITTING

M20 x 41.5

1шт.

230

288594A1

PIN

5 OD

2шт.

230

288593A1

PIN

2шт.

231

437868A1

STUD

M12 x 67

4шт.

234

86987142

STUD

M10 x 65

2шт.

238

289078A1

PLUG

1шт.

250

419935A1

BOLT

M8 x 16

2шт.

335

362175A1

PLUG

PT 1/8

2шт.

335

86987839

PLUG

PT 1/4

4шт.

335

426205A1

PLUG

M16, PT 3/8

2шт.

352

86987183

GASKET

2шт.

Выбрано товаров: 41