Запчасти Case CX460 (08-44) - ACCUMULATOR - PILOT PRESSURE, RETURN LINES (08) - HYDRAULICS

Схема запчастей Case CX460 - (08-44) - ACCUMULATOR - PILOT PRESSURE, RETURN LINES (08) - HYDRAULICS
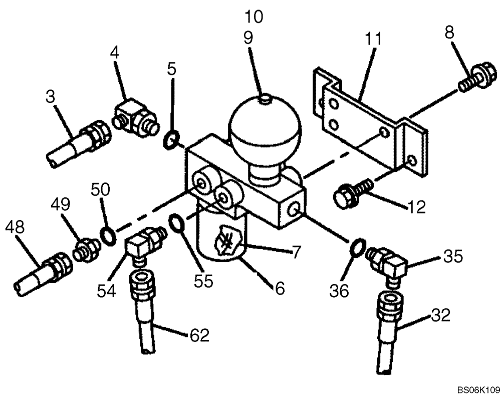
10
7
50
54
3
12
32
5
36
55
8
48
11
35
6
49
4
62
9
FIT
1:1
100%

Артикул

Название

Примечание

Количество

3

KAJ3233

HYDRAULIC HOSE,12.70 mm ID x 1050.00 mm

1шт.

4

150919A1

ELBOW,90 Degree, 1/2" O-Ring x 1/2"

Incl. 5

1шт.

5

154487A1

O-RING

1шт.

6

KHJ2562

MANIFOLD

Incl. 7

1шт.

7

153233A1

HYDRAULIC OIL FILTER

1шт.

8

166350A1

BOLT

3шт.

9

150894A1

ACCUMULATOR

Incl. 10

1шт.

10

154487A1

O-RING

1шт.

11

KRJ5948

BRACKET

1шт.

12

166351A1

BOLT,Sems, M10 x 20mm

2шт.

32

KMJ2204

HOSE

1шт.

35

157935A1

ELBOW

Incl. 36

1шт.

36

154487A1

O-RING

1шт.

48

167861A1

HYDRAULIC HOSE,6.30 mm ID x 500.00 mm

1шт.

49

152127A1

HYD CONNECTOR,1/4" NPT O-Ring x 1/4" NPT

Incl. 50

1шт.

50

154467A1

O-RING,10.8mm ID x 2.4mm Width

1шт.

54

150913A1

ELBOW,90 Degree, 1/4" O-Ring x 1/4"

Incl. 55

1шт.

55

154467A1

O-RING,10.8mm ID x 2.4mm Width

1шт.

62

152778A1

HOSE ASSY.

2700 mm (106-1/4 in)

1шт.

Выбрано товаров: 19