Запчасти Case CX460 (08-80) - CONTROL VALVE (08) - HYDRAULICS

Схема запчастей Case CX460 - (08-80) - CONTROL VALVE (08) - HYDRAULICS
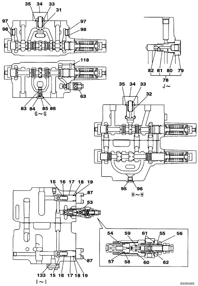
17
62
87
61
19
60
17
96
87
84
33
97
78
98
82
35
86
15
85
54
18
18
58
19
34
35
57
53
56
79
16
34
59
97
32
31
33
118
83
63
133
16
81
95
80
98
55
15
FIT
1:1
100%

Артикул

Название

Примечание

Количество

KTJ10071

CONTROL VALVE

Includes All Parts On Figures 08-76 - 08-80

1шт.

15

LJ00727

VALVE POPPET

2шт.

16

LG00341

SPRING

2шт.

17

LH00251

SPACER

2шт.

18

154507A1

O-RING

2шт.

19

153987A1

BACK-UP RING

2шт.

31

LJ00978

POPPET

1шт.

32

LJ00979

POPPET

1шт.

33

164497A1

SPRING

2шт.

34

LH004510

FLANGE

2шт.

35

154575A1

O-RING

2шт.

53

LJ00981

VALVE, PRESSURE RELI

EF Incl. 54 - 62

1шт.

54

LBQ7916

O-RING

1шт.

55

155222A1

O-RING

1шт.

56

159985A1

BACK-UP RING

1шт.

57

154497A1

O-RING

1шт.

58

153976A1

BACK-UP RING

1шт.

59

154470A1

O-RING

1шт.

60

LBQ7916

O-RING

1шт.

61

154538A1

O-RING

2шт.

62

154462A1

O-RING

1шт.

63

164457A1

VALVE

ASSEMBLY - relief, See Figure 08-79

1шт.

78

LK00303

PLUG

Incl. 79 - 82

1шт.

79

LK00322

PLUG

1шт.

80

154487A1

O-RING

1шт.

81

155086A1

O-RING

1шт.

82

154458A1

O-RING

1шт.

83

LJ00984

POPPET

1шт.

84

156026A1

SPRING

1шт.

85

155464A1

PLUG

1шт.

86

155222A1

O-RING

1шт.

87

LH00250

CAP

3шт.

95

163370A1

PLUG

Incl. 96

1шт.

96

154487A1

O-RING

1шт.

97

163970A1

PLUG

Incl. 98

2шт.

98

154503A1

O-RING

2шт.

118

NSS

NOT SOLD SEPARAT

Ball

1шт.

133

LE01003

O-RING

1шт.

Выбрано товаров: 38