Запчасти Case CX460 (08-83A) - VALVE ASSY - FOOT CONTROL (08) - HYDRAULICS

Схема запчастей Case CX460 - (08-83A) - VALVE ASSY - FOOT CONTROL (08) - HYDRAULICS
26
7
18
8
16
14
28
5
1
30
2
11
15
12
23
22
17
25
21
4
10
27
13
31
20
19
9
24
3
6
29
FIT
1:1
100%

Артикул

Название

Примечание

Количество

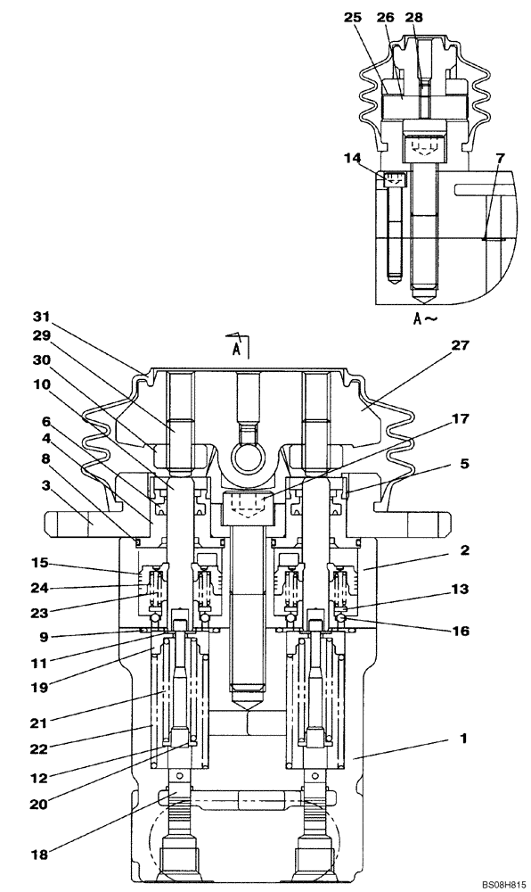
KHJ19280

CONTROL BLOCK

Incl 1 - 31

1шт.

1

NSS

NOT SOLD SEPARAT

1шт.

2

NSS

NOT SOLD SEPARAT

1шт.

3

165211A1

COVER

2шт.

4

165197A1

PLUG

4шт.

5

165210A1

CAP

4шт.

6

165195A1

SCRAPER RING

4шт.

7

154455A1

O-RING

2шт.

8

166804A1

O-RING

4шт.

9

LE012930

O-RING

4шт.

10

165229A1

PUSH ROD

4шт.

11

LA00056

WASHER

8шт.

12

LA00057

SET OF WASHERS

4шт.

13

165205A1

SPRING SEAT

4шт.

14

108R006Y040R

SCREW

M6 x 40

4шт.

15

165199A1

PISTON

4шт.

16

165200A1

BALL

12шт.

17

862-12060

HEX SOC SCREW,M12 x 60mm, Cl 12.9

M12 x 60; 12.9

2шт.

18

NSS

NOT SOLD SEPARAT

Spool

4шт.

19

165277A1

SPRING

4шт.

20

160283A1

WASHER

4шт.

21

LG00389

COMPRESSION SPRING

4шт.

22

160250A1

SPRING

4шт.

23

165277A1

SPRING

4шт.

24

165208A1

SPRING

4шт.

25

160035A1

BUSHING

4шт.

26

160022A1

SHAFT

2шт.

27

160090A1

CAM

2шт.

28

LUC0103

SCREW

2шт.

29

160282A1

SCREW

4шт.

30

160281A1

LOCK NUT

4шт.

31

160001A1

BELLOWS

2шт.

Выбрано товаров: 32