Запчасти Case CX460 (08-85) - VALVE ASSY - AUXILIARY CONTROL (08) - HYDRAULICS

Схема запчастей Case CX460 - (08-85) - VALVE ASSY - AUXILIARY CONTROL (08) - HYDRAULICS
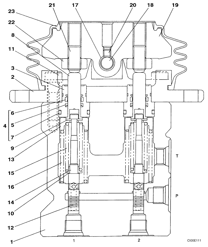
2
18
19
17
22
12
14
1
4
10
13
16
9
8
7
6
23
15
5
21
20
11
3
FIT
1:1
100%

Артикул

Название

Примечание

Количество

KRJ5864

CONTROL BLOCK

Incl. 1 - 23

1шт.

1

NSS

NOT SOLD SEPARAT

Housing

1шт.

2

160308A1

COVER

1шт.

3

160055A1

PLUG

2шт.

4

160130A1

SEAL KIT

Incl. 5 - 7

1шт.

5

CDP0818

OIL SEAL

2шт.

6

160014A1

SCRAPER

2шт.

7

154491A1

O-RING

2шт.

8

160023A1

THREADED ROD

2шт.

9

LA00056

WASHER

4шт.

10

LA00057

SET OF WASHERS

2шт.

11

160284A1

BOLT,Hex Skt

2шт.

12

NSS

NOT SOLD SEPARAT

Spool

2шт.

13

160232A1

SPRING SEAT

2шт.

14

160283A1

WASHER

2шт.

15

LG00331

COMPRESSION SPRING

2шт.

16

160250A1

SPRING

2шт.

17

160035A1

BUSHING

2шт.

18

160022A1

SHAFT

1шт.

19

160090A1

CAM

1шт.

20

LUC0103

SCREW

1шт.

21

160282A1

SCREW

2шт.

22

160281A1

LOCK NUT

2шт.

23

160001A1

BELLOWS

1шт.

Выбрано товаров: 24