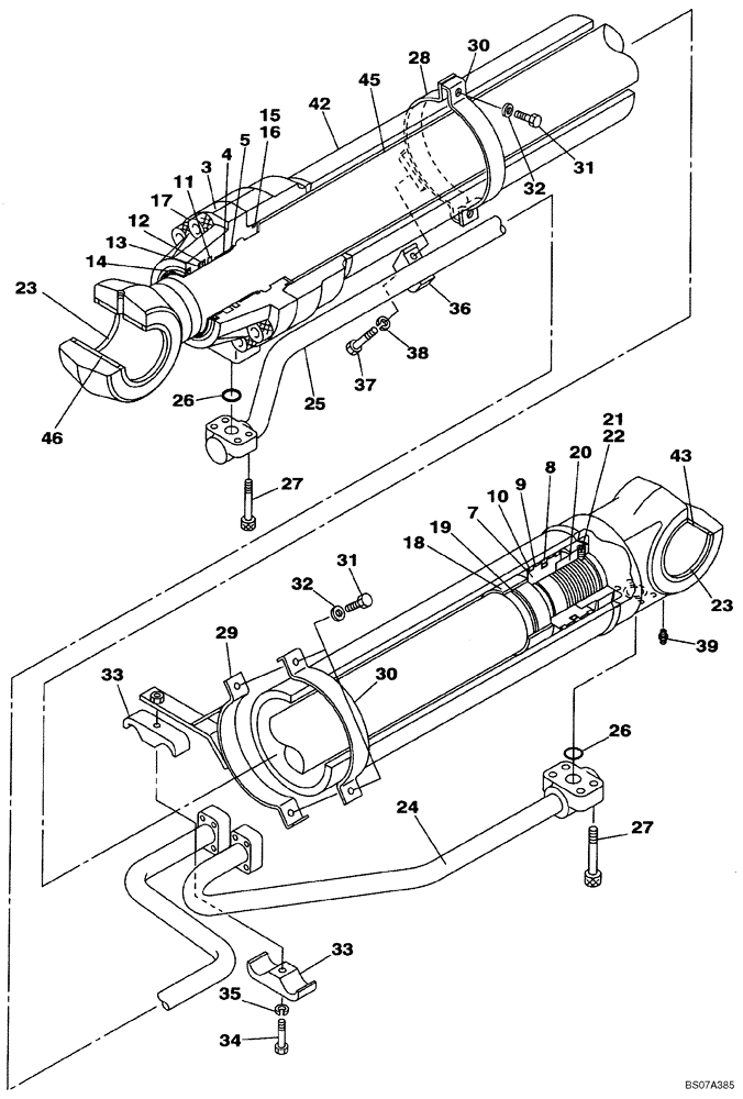
Запчасти Case CX460 (08-96) - CYLINDER ASSY, BOOM, LEFT HAND (08) - HYDRAULICS

Схема запчастей Case CX460 - (08-96) - CYLINDER ASSY, BOOM, LEFT HAND (08) - HYDRAULICS
32
10
36
31
42
30
18
15
13
27
37
34
28
33
21
11
31
8
35
33
26
29
19
4
26
3
7
23
43
46
25
5
38
39
12
24
23
14
30
32
20
16
9
27
22
45
17
FIT
1:1
100%

Артикул

Название

Примечание

Количество

KTV10690

HYDRAULIC CYLINDER

Boom, Left Hand; Incl. 3 - 46

1шт.

KTV10691R

REMAN-HYD CYLINDER

CX460 CRAWLER EXCAVATOR TIER 3 (NA), Boom, LEFT HAND (1/07-), Reman for New PN KTV10690

1шт.

KTV10691C

CORE-HYD CYLINDER

Return Number

1шт.

3

LU002480

CYLINDER END CAP

1шт.

4

LB00669

BACK-UP RING

1шт.

5

LMU0072

RING

1шт.

7

LJ00859

JACK PISTON

1шт.

8

LEU0096

SEALING RING

1шт.

9

LE014630

SEALING RING

SEALRING

2шт.

10

LEU0098

RING

2шт.

11

LE00890

RING

1шт.

12

LE015180

SEALING RING

SEALRING

1шт.

13

LE00892

BACK-UP RING

1шт.

14

LE015190

WIPER SEAL

1шт.

15

154829A1

O-RING

1шт.

16

LBU0093

BACK-UP RING

1шт.

17

862-27090

HEX SOC SCREW,M27 x 90mm, Cl 12.9

8шт.

18

LE00895

BACK-UP RING

1шт.

19

LE00896

SEALING RING

SEALRING

1шт.

20

LA00908

SPECIAL NUT

1шт.

21

155981A1

BALL

1шт.

22

156228A1

SET SCREW

1шт.

23

LE00898

WIPER SEAL

4шт.

24

LR012240

HYD TUBE

1шт.

25

LR012300

HYD TUBE

1шт.

26

154543A1

O-RING

2шт.

27

863-12035

HEX SOC SCREW,M12 x 35mm, Cl 12.9

8шт.

28

LD001550

CLAMP BRACKET

Replaced by LD001920

1шт.

28

LD001920

CLAMP BRACKET

1шт.

29

LD00069

CLAMP BRACKET

1шт.

30

LZU0074

CLAMP BRACKET

2шт.

31

158131A1

BOLT,High Strength, M10 x 1.5 x 35mm, Cl 10.9

4шт.

32

156227A1

WASHER

4шт.

33

155709A1

COLLAR

2шт.

34

102R014S090N

BOLT

1шт.

35

892-16014

LOCK WASHER,M14, Hvy

1шт.

36

155716A1

COLLAR

1шт.

37

LA00683

BOLT,Hex

1шт.

38

892-10012

LOCK WASHER,M12

1шт.

39

153630A1

LUBE NIPPLE

1шт.

LR00702

HYD CYL SLEEVE

Incl. 42, 43

1шт.

42

NSS

NOT SOLD SEPARAT

Tube

1шт.

43

KTV1123

SELF LUB RING

1шт.

LB00950

PISTON ROD

Incl. 45, 46

1шт.

45

NSS

NOT SOLD SEPARAT

Rod

1шт.

46

KTV1124

SELF LUB RING

1шт.

LZ008290

SEAL KIT

Incl. 8 - 16, 19

1шт.

Выбрано товаров: 47