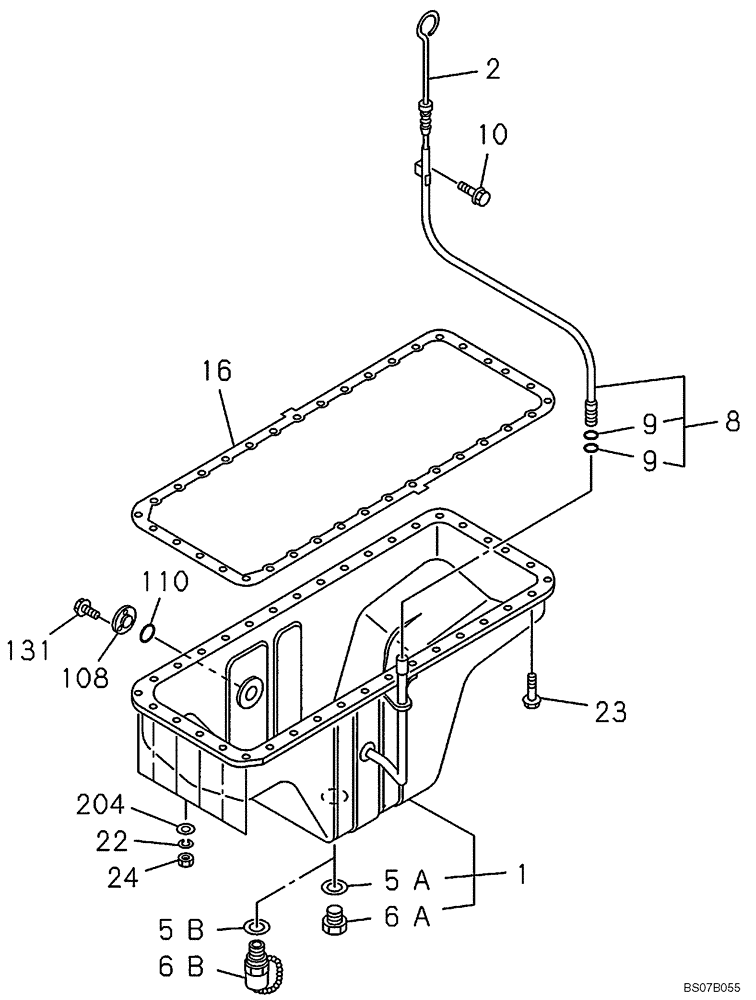
Запчасти Case CX460 (02-14) - OIL PAN (02) - ENGINE

Схема запчастей Case CX460 - (02-14) - OIL PAN (02) - ENGINE
2
6b
6a
24
110
22
10
9
1
9
5b
8
5a
204
23
16
131
108
FIT
1:1
100%

Артикул

Название

Примечание

Количество

1

86987096

PAN, ENGINE OIL

PAN, OIL Incl. 5A, 6A

1шт.

2

87601802

LEVEL GAUGE

1шт.

5a

87378135

GASKET

1шт.

5b

87393862

OIL PAN GASKET SET

1шт.

6a

87378136

PLUG

1шт.

6b

87393863

PLUG

ID24.5 - OD 32 (replaced 87384406)

1шт.

8

87601803

TUBE

Incl. 9

1шт.

9

289418A1

GASKET

2шт.

10

87597950

BOLT

1шт.

16

86987194

GASKET

1шт.

22

87601811

WASHER

6шт.

23

289033A1

BOLT

30шт.

24

289777A1

NUT

Replaces 87601812

6шт.

108

86987195

COVER

1шт.

110

437876A1

GASKET

1шт.

131

87595952

BOLT

3шт.

204

289787A1

WASHER

Replaces 87601815

6шт.

Выбрано товаров: 17