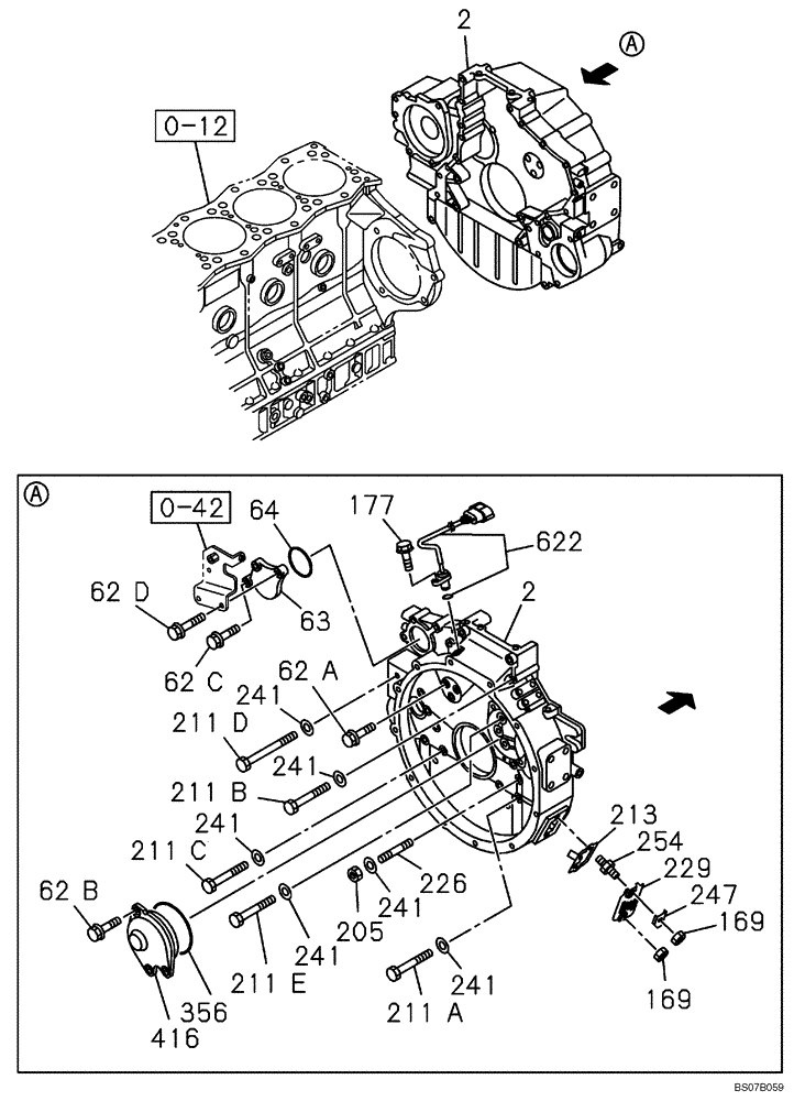
Запчасти Case CX460 (02-18) - ENGINE FLYWHEEL HOUSING (02) - ENGINE

Схема запчастей Case CX460 - (02-18) - ENGINE FLYWHEEL HOUSING (02) - ENGINE
63
416
211b
241
0-12
213
2
64
177
2
211e
62c
229
62b
622
62d
169
241
241
211d
254
62a
356
226
205
211c
0-42
241
169
211a
247
241
241
FIT
1:1
100%

Артикул

Название

Примечание

Количество

0-12

REF

INSTRUCTION

See Figure 02-13

1шт.

0-42

REF

INSTRUCTION

See Figure 03-07

1шт.

2

87602106

HOUSING

1шт.

62a

87595866

BOLT

M8 x 16

3шт.

62b

437844A1

FLANGE BOLT

M8 x 14

3шт.

62c

87596639

BOLT

M12 x 70

1шт.

62d

87683473

BOLT

Rplaces 87602371

2шт.

63

87602576

COVER

1шт.

64

71455102

SEAL

1шт.

177

87602592

BOLT

M6 x 16

1шт.

169

87595271

NUT

2шт.

205

87602593

NUT

1шт.

211a

87603319

BOLT

8шт.

211b

87603322

BOLT

1шт.

211c

87603323

BOLT

2шт.

211d

87603326

BOLT

1шт.

211e

86987413

BOLT

M12 x 75

5шт.

213

419945A1

POINTER

1шт.

226

87603339

STUD

1шт.

229

419946A1

COVER

1шт.

241

86987439

WASHER

18шт.

247

419949A1

WASHER

1шт.

254

419948A1

STUD

M8 x 14

2шт.

356

437877A1

GASKET

1шт.

416

87603356

COVER

1шт.

622

87336454

SENSOR

1шт.

Выбрано товаров: 26